Официальное опубликование правовых актов
ОФИЦИАЛЬНОЕ ОПУБЛИКОВАНИЕ
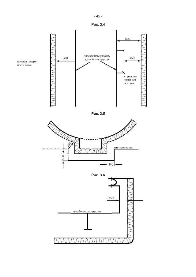
Поправки 2014 года к Международному кодексу постройки и оборудования судов, перевозящих сжиженные газы наливом (Кодекс МКГ)
(вступили в силу для Российской Федерации 1 января 2016 года)
Номер опубликования: 0001201707280018
Дата опубликования: 28.07.2017
Страница №45 из 224:
Увеличить