Официальное опубликование правовых актов
ОФИЦИАЛЬНОЕ ОПУБЛИКОВАНИЕ
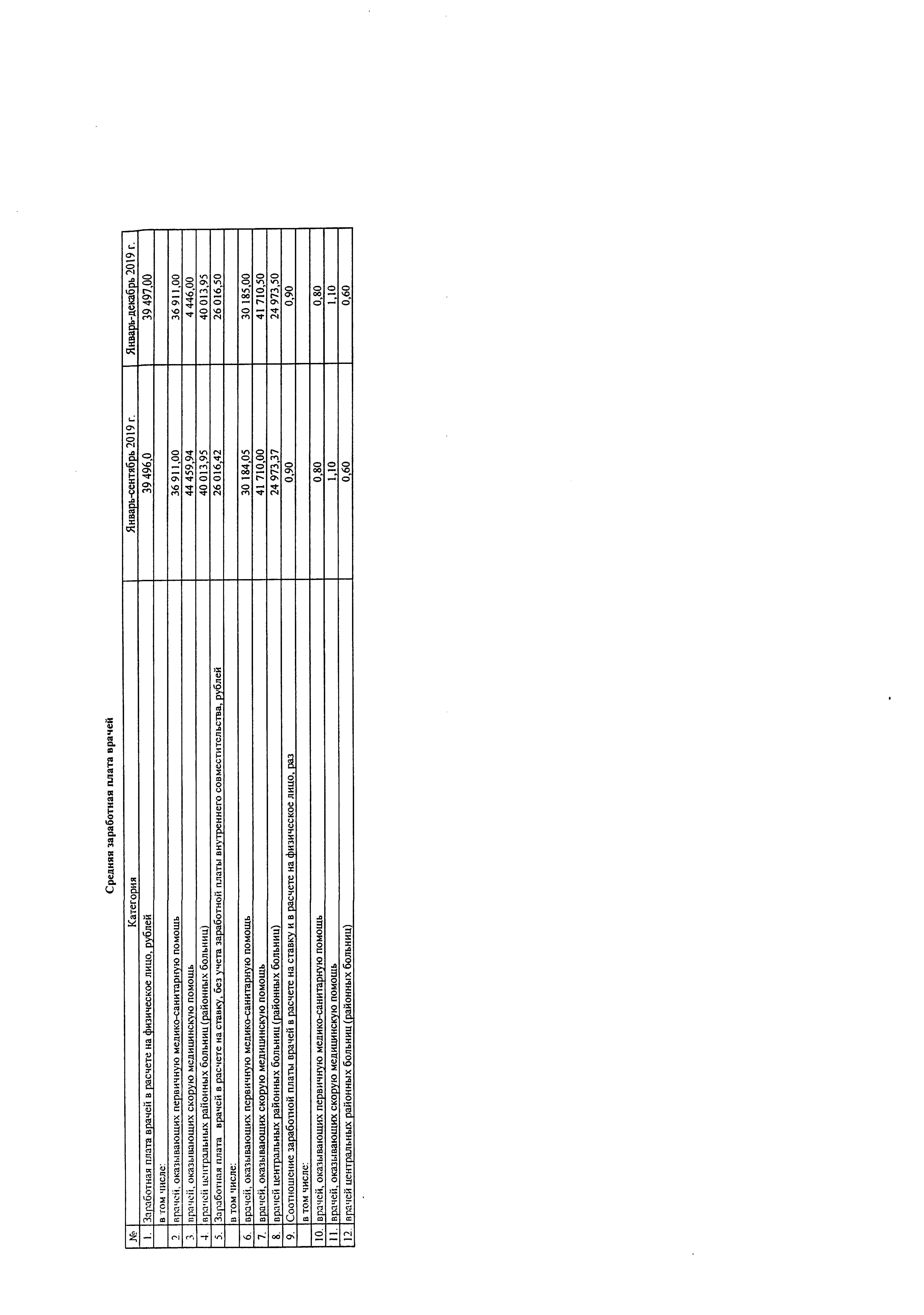
Постановление Правительства Карачаево-Черкесской Республики от 15.12.2020 № 284
"Об утверждении региональной программы "Модернизация первичного звена здравоохранения Карачаево-Черкесской Республики"
Номер опубликования: 0900202012170001
Дата опубликования: 17.12.2020
Страница №96 из 126: