Официальное опубликование правовых актов
ОФИЦИАЛЬНОЕ ОПУБЛИКОВАНИЕ
Приказ Комитета по охране и использованию объектов культурного наследия Республики Северная Осетия-Алания от 12.01.2022 № 4
"Об утверждении предмета охраны объекта культурного наследия регионального значения "Дом, в котором родился и жил выдающийся осетинский поэт и деятель национального возрождения Блашка Гуржибеков (1868-1905)"
Номер опубликования: 1501202201210007
Дата опубликования: 21.01.2022
Страница №5 из 5:
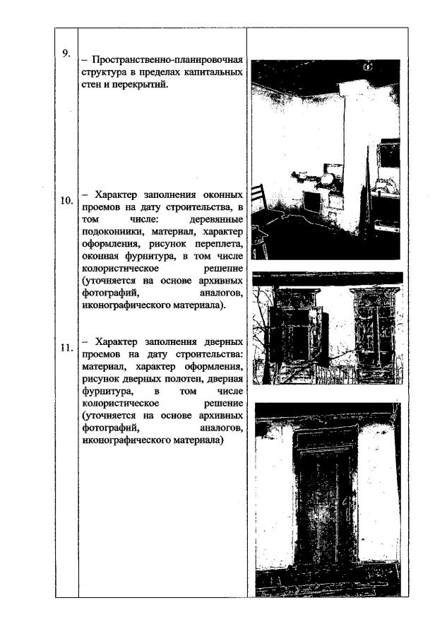
Увеличить