Официальное опубликование правовых актов
ОФИЦИАЛЬНОЕ ОПУБЛИКОВАНИЕ
Приказ Комитета Республики Северная Осетия-Алания по занятости населения от 24.08.2023 № 91-д
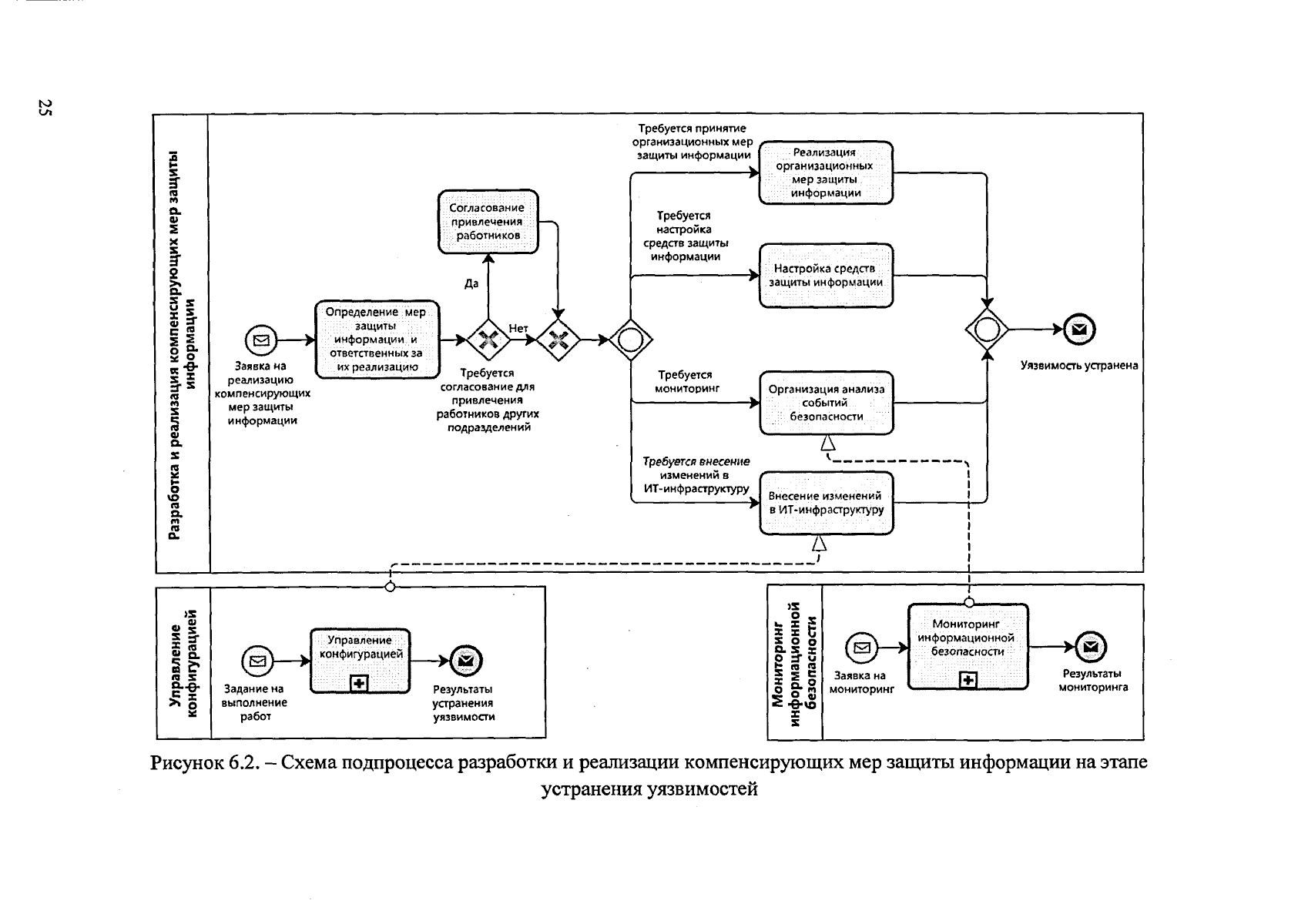
"Об утверждении Регламента по выявлению, анализу и устранению критичных уязвимостей в информационных системах, эксплуатируемых в Комитете РСО-Алания по занятости населения"
(Зарегистрирован 25.08.2023 № 0260-23-2)
Номер опубликования: 1501202308300002
Дата опубликования: 30.08.2023
Страница №26 из 33:
Увеличить