Официальное опубликование правовых актов
ОФИЦИАЛЬНОЕ ОПУБЛИКОВАНИЕ
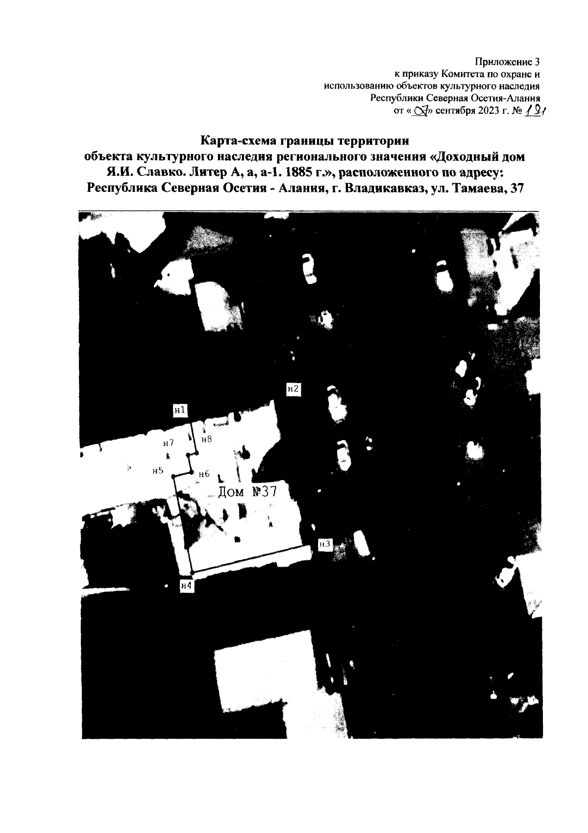
Приказ Комитета по охране и использованию объектов культурного наследия Республики Северная Осетия-Алания от 07.09.2023 № 191
"Об утверждении границы территории объекта культурного наследия регионального "Доходный дом Я.И. Славко. Литер А, а, а-1. 1885 г.", расположенного по адресу: Республика Северная Осетия - Алания, г. Владикавказ, ул. Тамаева, 37"
(Зарегистрирован 12.09.2023 № 0271-23-2)
Номер опубликования: 1501202309140005
Дата опубликования: 14.09.2023
Страница №4 из 4:
Увеличить