Официальное опубликование правовых актов
ОФИЦИАЛЬНОЕ ОПУБЛИКОВАНИЕ
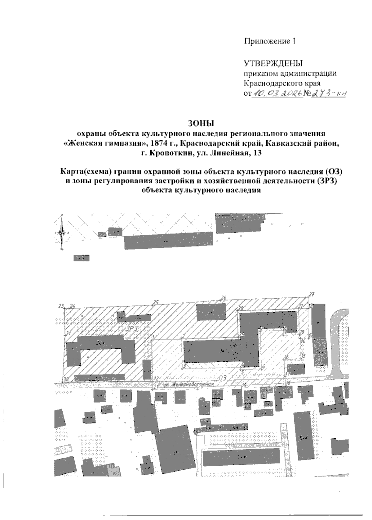
Приказ администрации Краснодарского края от 10.03.2026 № 273-КН
"Об установлении зон охраны, утверждении режимов использования земель и требований к градостроительным регламентам в границах территорий данных зон объекта культурного наследия регионального значения "Женская гимназия", 1874 г., Краснодарский край, Кавказский район, г. Кропоткин, ул. Линейная, 13"
Номер опубликования: 2301202603160010
Дата опубликования: 16.03.2026
Страница №3 из 9:
Увеличить