Официальное опубликование правовых актов
ОФИЦИАЛЬНОЕ ОПУБЛИКОВАНИЕ
Приказ министерства природных ресурсов Краснодарского края от 13.03.2026 № 302
"Об установлении зон санитарной охраны источника питьевого и хозяйственно-бытового водоснабжения индивидуального предпринимателя Кристя Эдуарда Викторовича в муниципальном образовании город Краснодар"
Номер опубликования: 2301202603170017
Дата опубликования: 17.03.2026
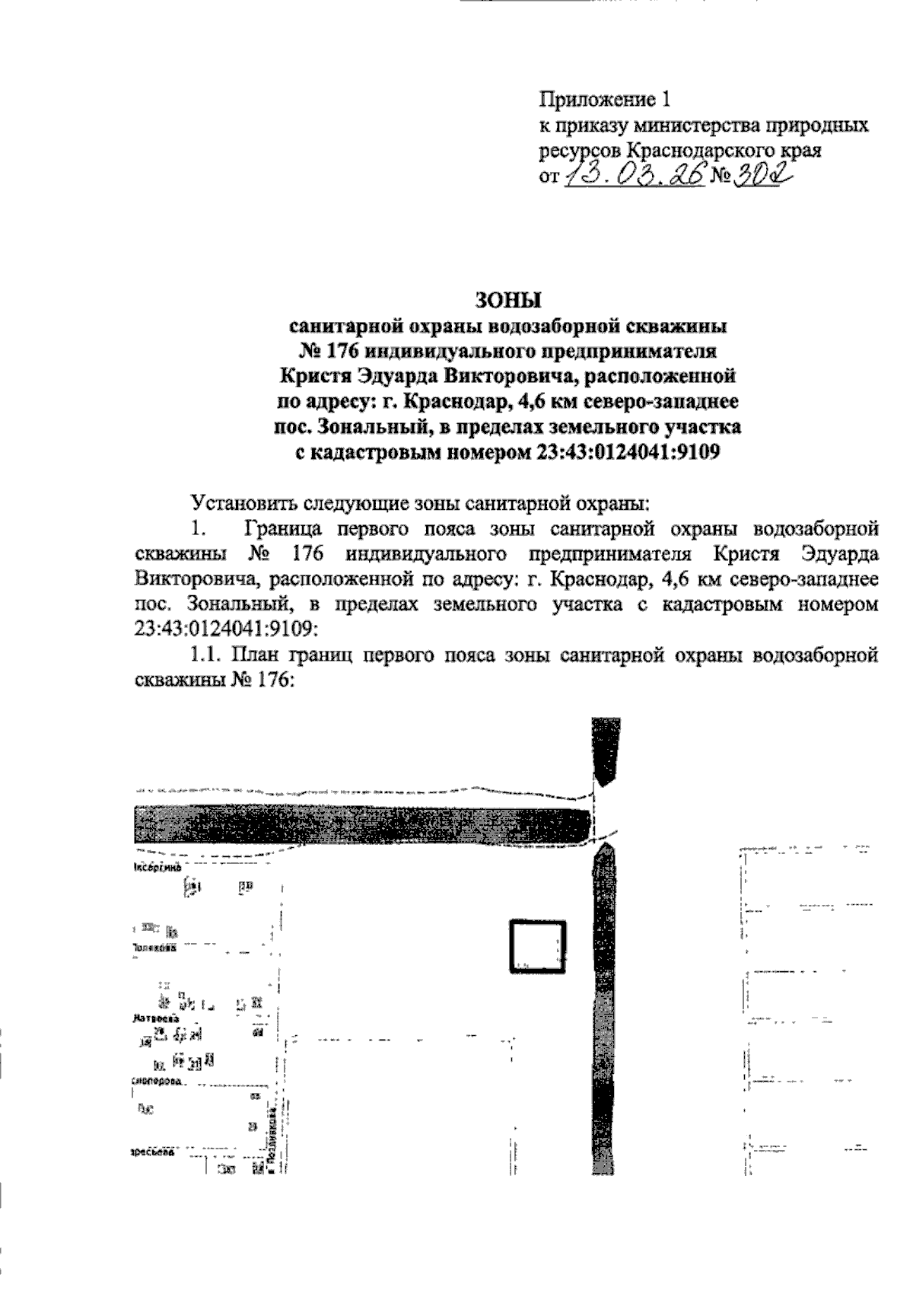
Страница №3 из 10:
Увеличить