Официальное опубликование правовых актов
ОФИЦИАЛЬНОЕ ОПУБЛИКОВАНИЕ
Постановление Правительства Красноярского края от 11.12.2018 № 729-п
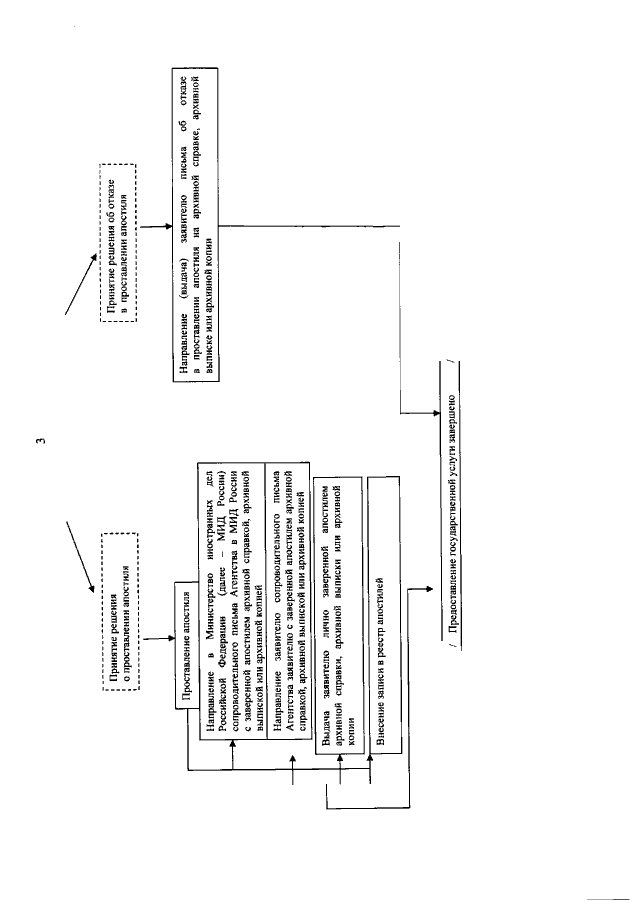
"Об утверждении Административного регламента предоставления архивным агентством Красноярского края государственной услуги по заверению апостилем архивных справок, архивных выписок и архивных копий, подготовленных государственными, муниципальными архивами и иными органами и организациями, расположенными на территории Красноярского края, и предназначенных для предоставления (предъявления) в государства, подписавшие Гаагскую конвенцию 1961 года"
Номер опубликования: 2400201812190001
Дата опубликования: 19.12.2018
Страница №37 из 39:
Увеличить