Официальное опубликование правовых актов
ОФИЦИАЛЬНОЕ ОПУБЛИКОВАНИЕ
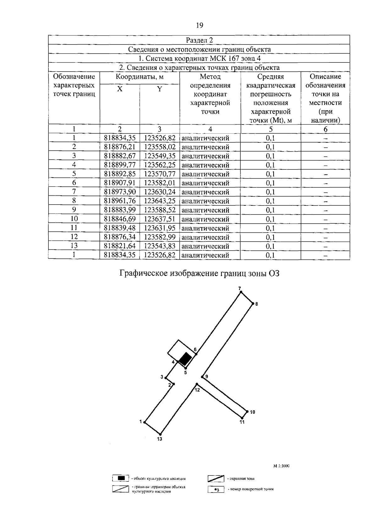
Постановление Правительства Красноярского края от 22.08.2023 № 666-п
"Об установлении зон охраны объектов культурного наследия регионального значения, расположенных в Казачинском районе Красноярского края, утверждении требований к градостроительным регламентам в границах территорий данных зон"
Номер опубликования: 2400202308290002
Дата опубликования: 29.08.2023
Страница №21 из 50:
Увеличить