Официальное опубликование правовых актов
ОФИЦИАЛЬНОЕ ОПУБЛИКОВАНИЕ
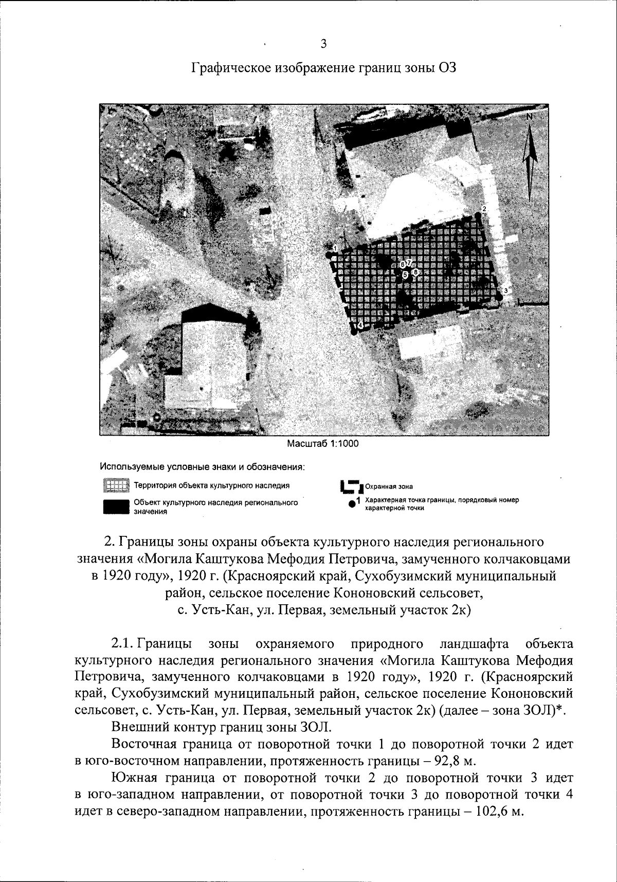
Постановление Правительства Красноярского края от 10.09.2024 № 625-п
"Об установлении зон охраны объектов культурного наследия регионального значения, расположенных в Сухобузимском районе Красноярского края, утверждении требований к градостроительным регламентам в границах территорий данных зон"
Номер опубликования: 2400202409170004
Дата опубликования: 17.09.2024
Страница №5 из 20:
Увеличить