Официальное опубликование правовых актов
ОФИЦИАЛЬНОЕ ОПУБЛИКОВАНИЕ
Приказ Управления по охране и сохранению историко-культурного наследия Брянской области от 30.03.2026 № 2-1/40
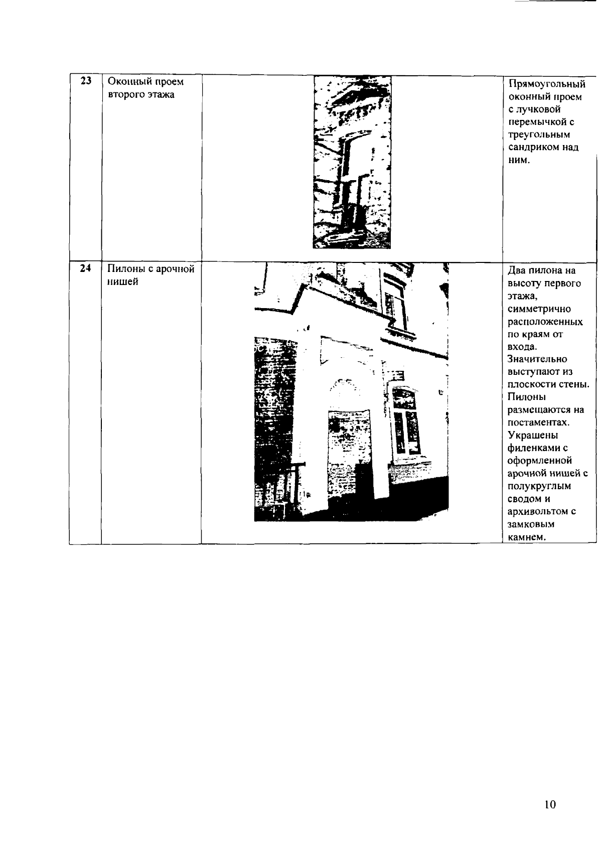
"Об утверждении предмета охраны объекта культурист наследия регионального значения "Многоквартирный дом для служащих Брянского завода", включенного в единый государственный реестр объектов культурного наследия (памятников истории и культуры) народов Российской Федерации, расположенного по адресу (местонахождение): Брянская обл., г. Брянск, ул. Комсомольская, д. 1."
(Зарегистрирован 31.03.2026 № 20260010025)
Номер опубликования: 3201202604090001
Дата опубликования: 09.04.2026
Страница №12 из 28:
Увеличить