Официальное опубликование правовых актов
ОФИЦИАЛЬНОЕ ОПУБЛИКОВАНИЕ
Постановление администрации Владимирской области от 27.07.2016 № 634
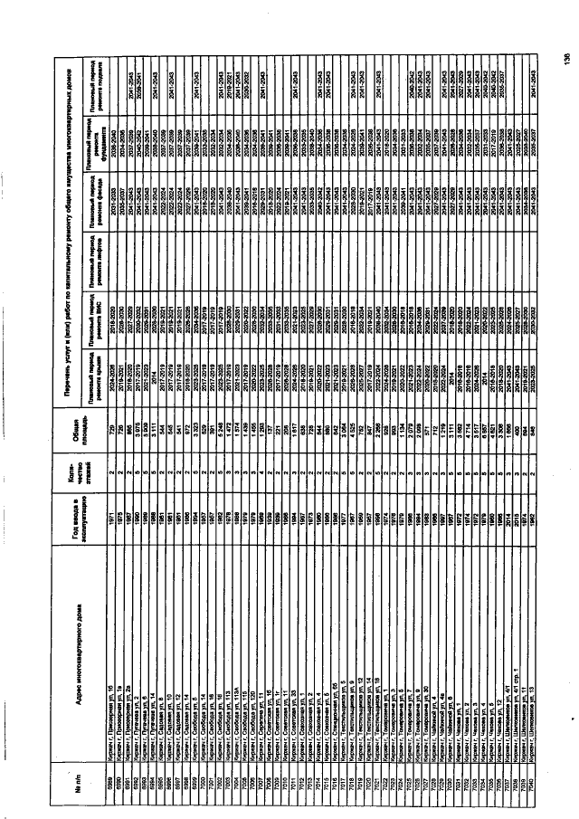
"О внесении изменений в постановление Губернатора области от 30.12.2013 № 1502 "Об утверждении региональной программы капитального ремонта на период с 2014 по 2043 годы"
Номер опубликования: 3300201607290001
Дата опубликования: 29.07.2016
Страница №160 из 246:
Увеличить