Официальное опубликование правовых актов
ОФИЦИАЛЬНОЕ ОПУБЛИКОВАНИЕ
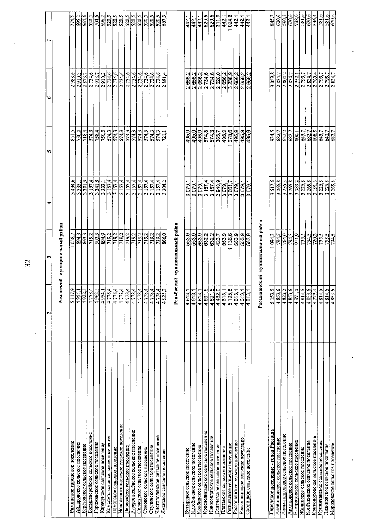
Постановление Правительства Воронежской области от 22.12.2025 № 791
"О региональных стандартах стоимости жилищно-коммунальных услуг на 2026 год по Воронежской области"
Номер опубликования: 3600202512230004
Дата опубликования: 23.12.2025
Страница №33 из 35:
Увеличить