Официальное опубликование правовых актов
ОФИЦИАЛЬНОЕ ОПУБЛИКОВАНИЕ
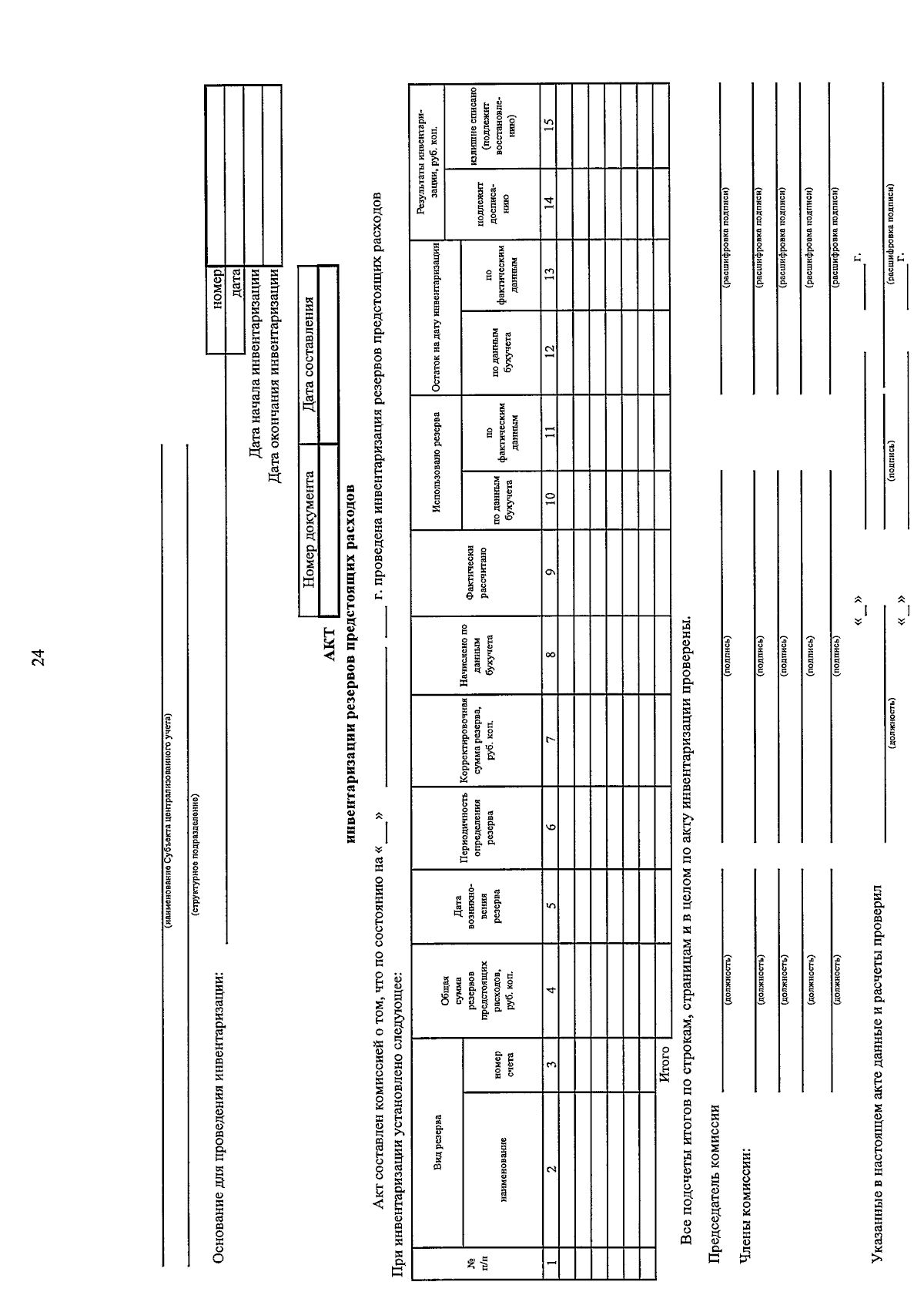
Приказ министерства финансов Воронежской области от 24.12.2025 № 152 «о/н»
"О внесении изменений в приказ департамента финансов Воронежской области от 22.11.2021 № 143 "о/н"
(Зарегистрирован 23.01.2026 № 2080)
Номер опубликования: 3601202601260010
Дата опубликования: 26.01.2026
Страница №113 из 458:
Увеличить