Официальное опубликование правовых актов
ОФИЦИАЛЬНОЕ ОПУБЛИКОВАНИЕ
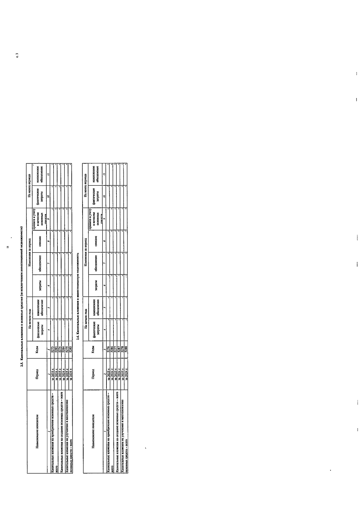
Приказ министерства сельского хозяйства Воронежской области от 25.02.2026 № 60-01-11/22
"Об утверждении формы отчёта о финансово-экономическом состоянии товаропроизводителей агропромышленного комплекса Воронежской области за 2025 год"
(Зарегистрирован 25.03.2026 № 279)
Номер опубликования: 3601202603250003
Дата опубликования: 25.03.2026
Страница №12 из 125:
Увеличить