Официальное опубликование правовых актов
ОФИЦИАЛЬНОЕ ОПУБЛИКОВАНИЕ
Приказ Министерства природных ресурсов и экологии Иркутской области от 19.11.2025 № 66-53-мпр
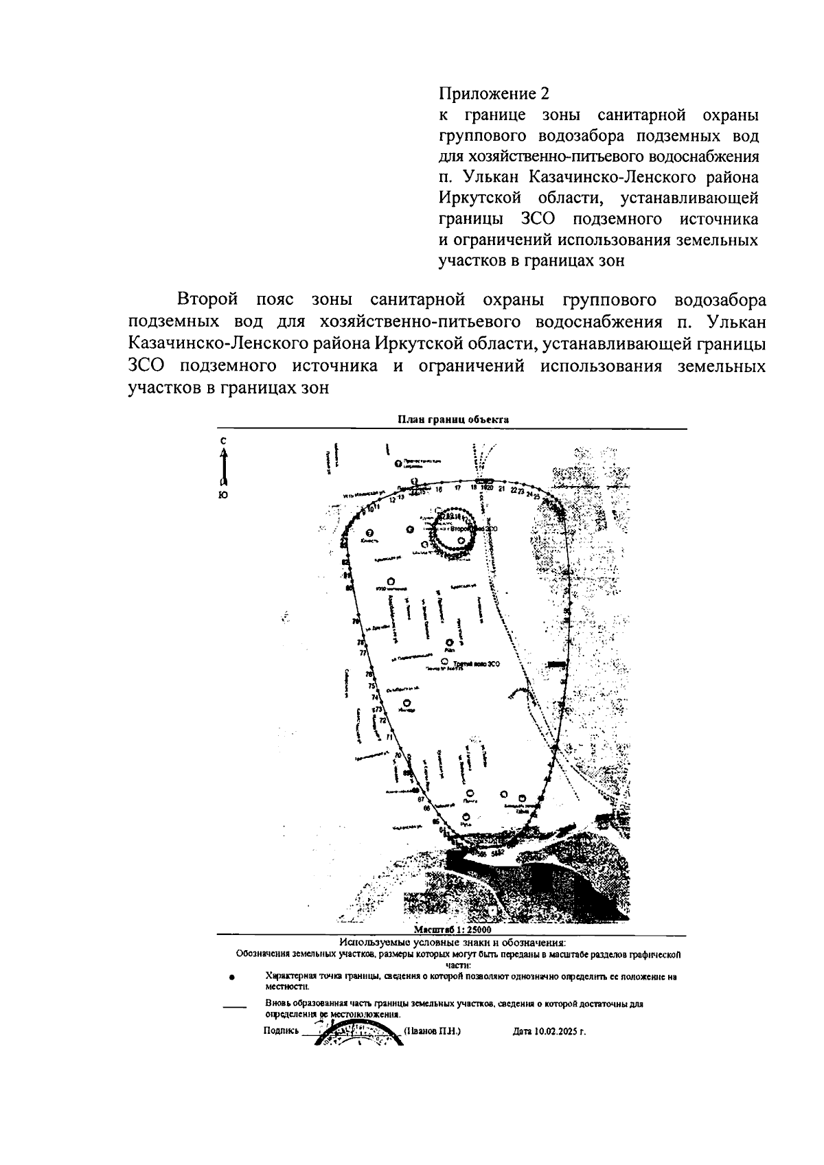
"Об установлении зоны санитарной охраны группового водозабора подземных вод для хозяйственно-питьевого водоснабжения п. Улькан Казачинско-Ленского района Иркутской области, устанавливающей границы ЗСО подземного источника и ограничений использования земельных участков в границах зон"
(Зарегистрирован 19.11.2025 № 03-2096/25)
Номер опубликования: 3801202511200006
Дата опубликования: 20.11.2025
Страница №8 из 11:
Увеличить