Официальное опубликование правовых актов
ОФИЦИАЛЬНОЕ ОПУБЛИКОВАНИЕ
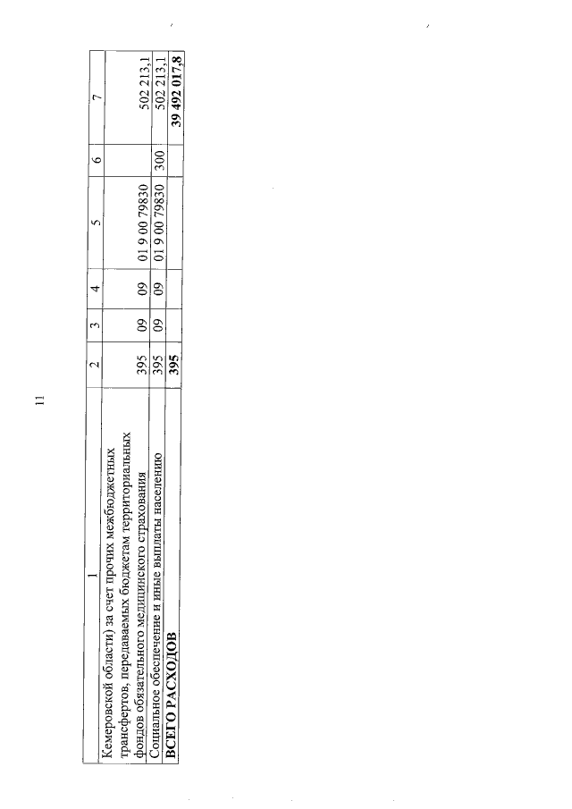
Закон Кемеровской области - Кузбасса от 29.05.2020 № 57-ОЗ "Об исполнении бюджета Территориального фонда обязательного медицинского страхования Кемеровской области за 2019 год"
Номер опубликования: 4200202006030002
Дата опубликования: 03.06.2020
Страница №11 из 12:
Увеличить