Официальное опубликование правовых актов
ОФИЦИАЛЬНОЕ ОПУБЛИКОВАНИЕ
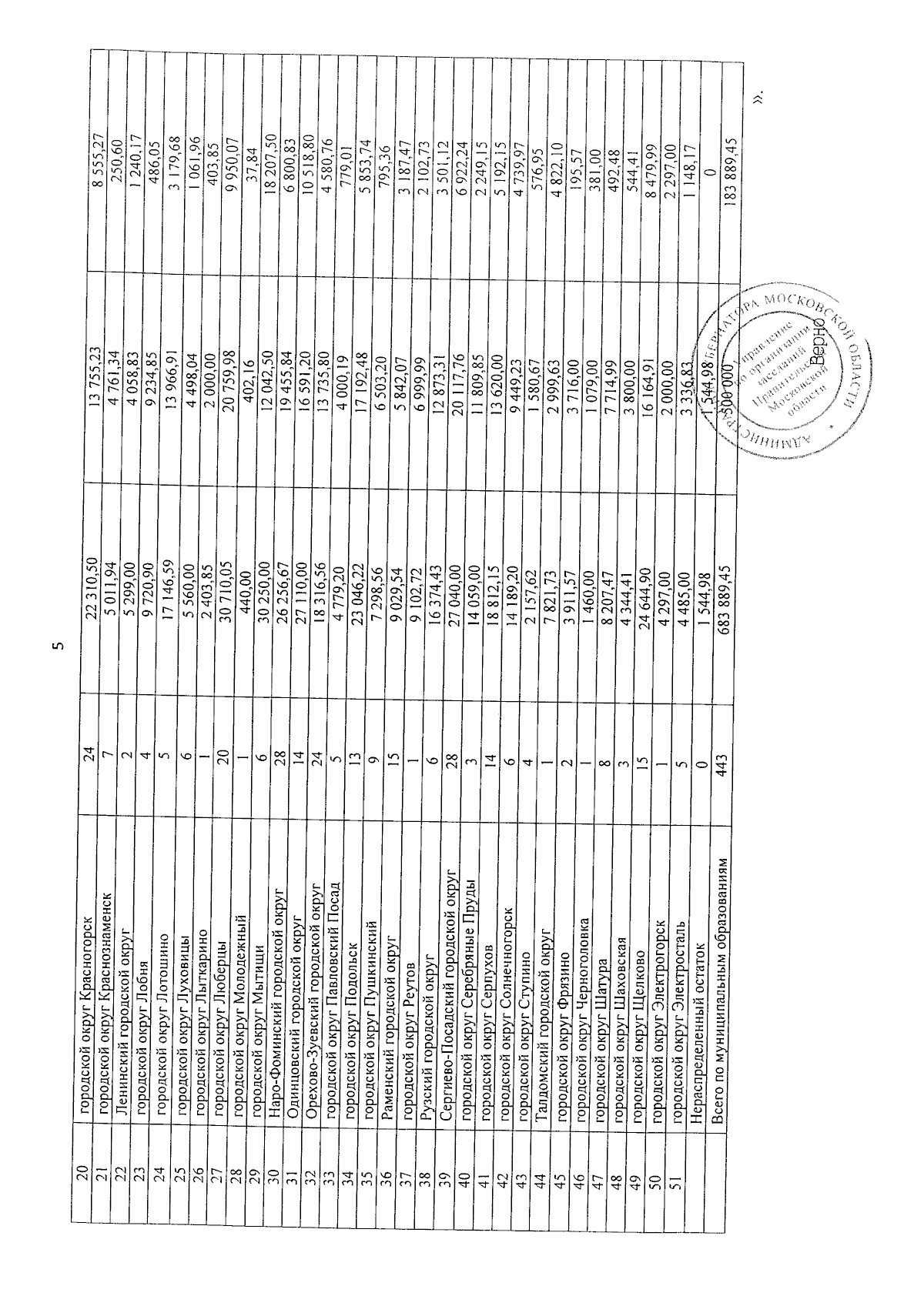
Постановление Правительства Московской области от 29.08.2023 № 680-ПП
"О внесении изменений в государственную программу Московской области "Развитие институтов гражданского общества, повышение эффективности местного самоуправления и реализации молодежной политики в Московской области" на 2023-2027 годы"
Номер опубликования: 5000202308310007
Дата опубликования: 31.08.2023
Страница №6 из 6:
Увеличить