Официальное опубликование правовых актов
ОФИЦИАЛЬНОЕ ОПУБЛИКОВАНИЕ
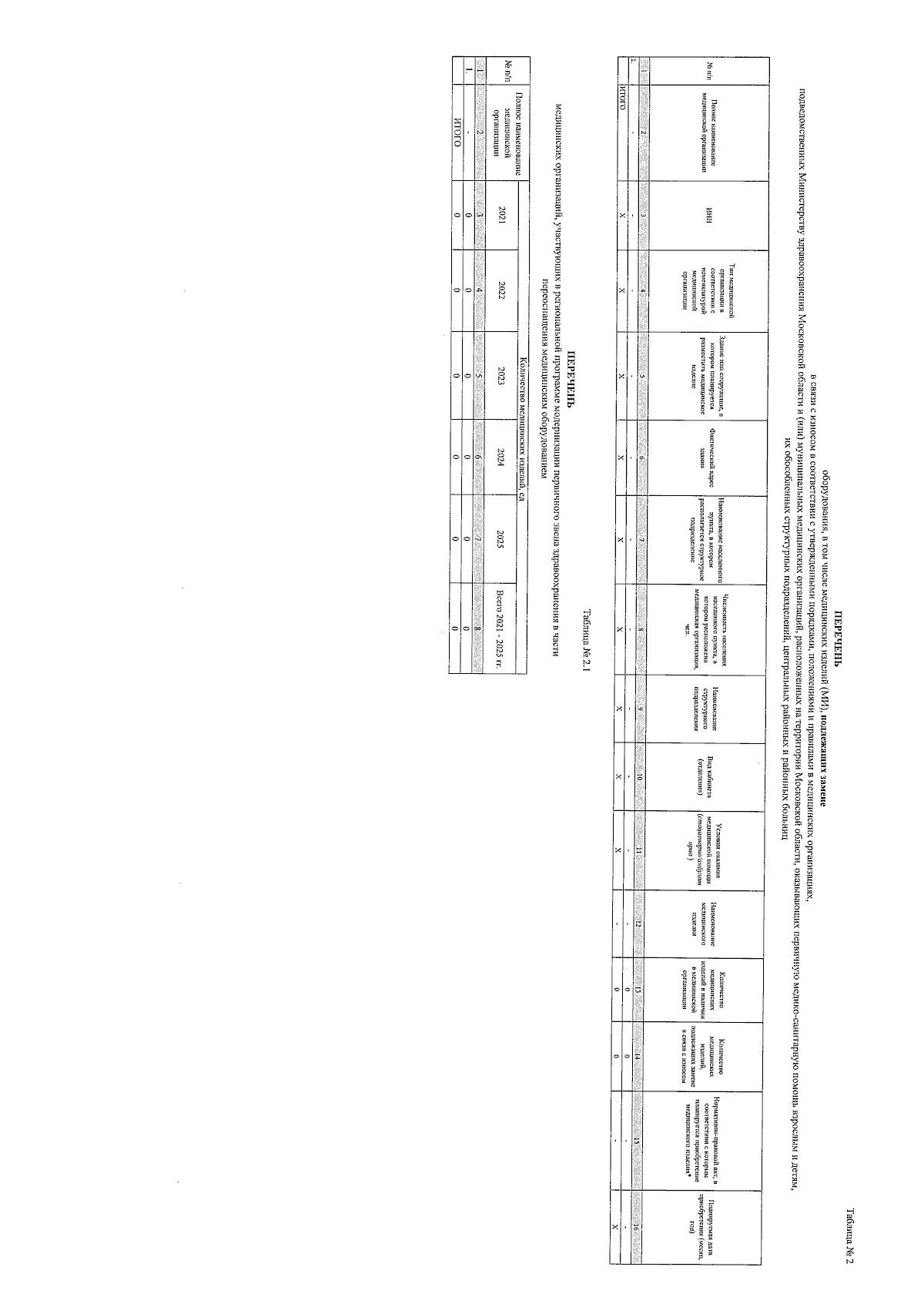
Постановление Правительства Московской области от 22.09.2023 № 765-ПП
"О внесении изменений в Региональную программу модернизации первичного звена здравоохранения Московской области на 2021—2025 годы"
Номер опубликования: 5000202309280001
Дата опубликования: 28.09.2023
Страница №343 из 395:
Увеличить