Официальное опубликование правовых актов
ОФИЦИАЛЬНОЕ ОПУБЛИКОВАНИЕ
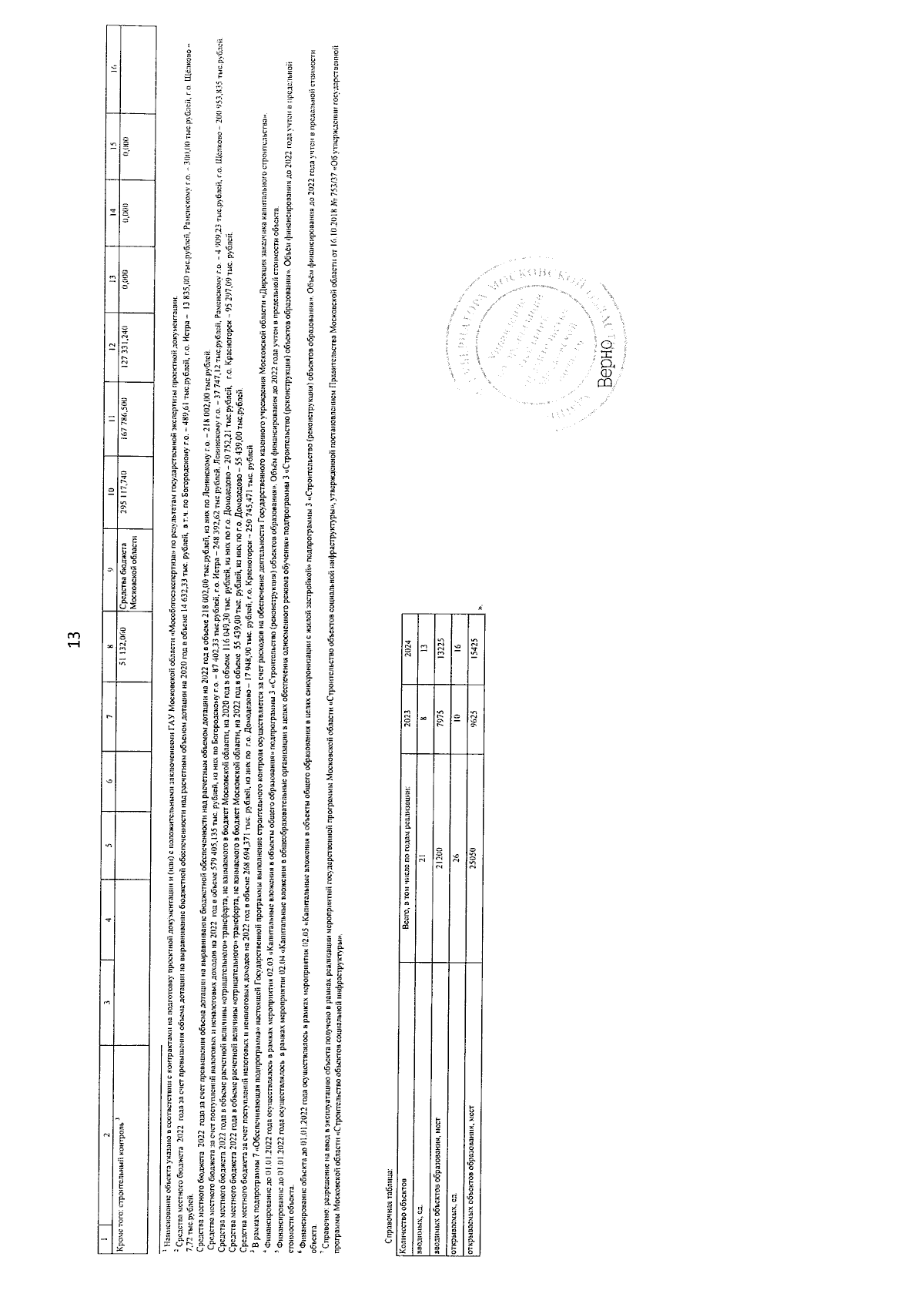
Постановление Правительства Московской области от 06.10.2023 № 813-ПП
"О распределении бюджетных ассигнований бюджета Московской области и внесении изменений в государственную программу Московской области "Строительство объектов социальной инфраструктуры" на 2023—2027 годы"
Номер опубликования: 5000202310060006
Дата опубликования: 06.10.2023
Страница №24 из 24:
Увеличить