Постановление Правительства Московской области от 14.10.2025 № 1412-ПП
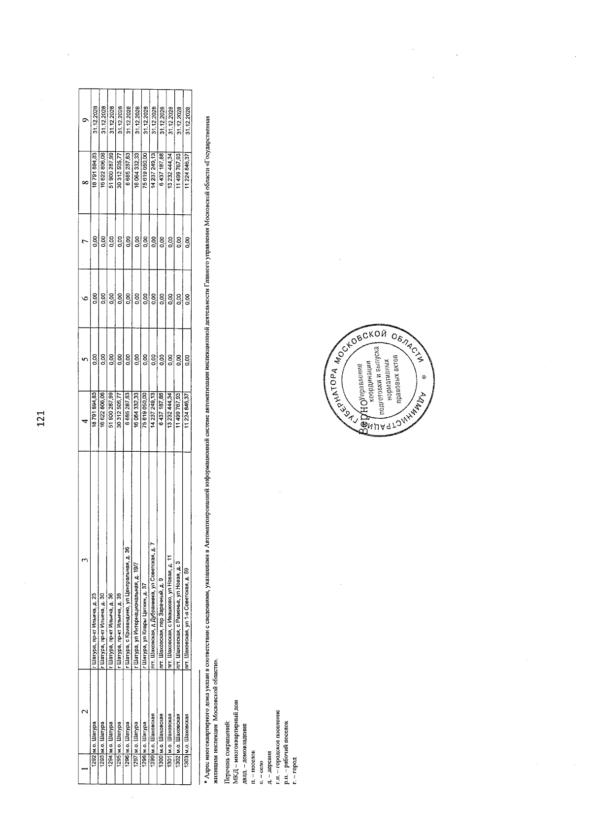
"Об утверждении краткосрочного плана реализации региональной программы капитального ремонта общего имущества в многоквартирных домах, расположенных на территории Московской области, на 2026-2028 годы и внесении изменений в постановление Правительства Московской области от 14.03.2017 № 156/8 "Об утверждении Порядка утверждения краткосрочного плана реализации региональной программы капитального ремонта общего имущества в многоквартирных домах, расположенных на территории Московской области"
"Об утверждении краткосрочного плана реализации региональной программы капитального ремонта общего имущества в многоквартирных домах, расположенных на территории Московской области, на 2026-2028 годы и внесении изменений в постановление Правительства Московской области от 14.03.2017 № 156/8 "Об утверждении Порядка утверждения краткосрочного плана реализации региональной программы капитального ремонта общего имущества в многоквартирных домах, расположенных на территории Московской области"
Номер опубликования: 5000202510150004
Дата опубликования:
15.10.2025
