Официальное опубликование правовых актов
ОФИЦИАЛЬНОЕ ОПУБЛИКОВАНИЕ
Приказ Инспекции государственной охраны объектов культурного наследия Оренбургской области от 21.12.2023 № 01-08-812
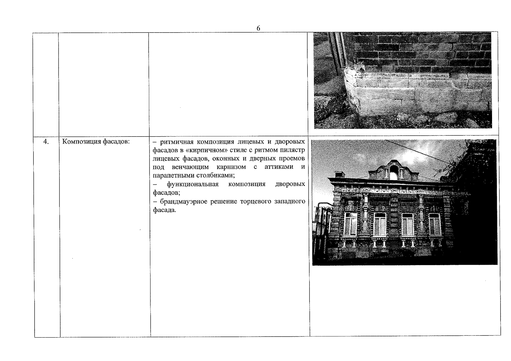
"О включении выявленного объекта культурного наследия в единый государственный реестр объектов культурного наследия (памятников истории и культуры) народов Российской Федерации в качестве объекта культурного наследия регионального значения (вид – памятник) "Особняк купца П.И. Жаломского", 1902-1903 годы, (Оренбургская область, г. Оренбург, ул. 9 Января, 57 / пер. Хлебный, 10), об утверждении предмета охраны, границ и режима использования территории объекта культурного наследия"
(Зарегистрирован 21.12.2023 № 0530/2023/22)
Номер опубликования: 5601202312250023
Дата опубликования: 25.12.2023
Страница №6 из 15:
Увеличить