Официальное опубликование правовых актов
ОФИЦИАЛЬНОЕ ОПУБЛИКОВАНИЕ
Приказ Инспекции государственной охраны объектов культурного наследия Оренбургской области от 23.01.2026 № 01-33-12
"О включении выявленного объекта культурного наследия в единый государственный реестр объектов культурного наследия (памятников истории и культуры) народов Российской Федерации в качестве объекта культурного наследия регионального значения (вид – ансамбль) "Усадьба городская с лавкой А.О. Леска – В.Г. Шнайдермана", 1880-ые годы – начало XX века (Оренбургская область, город Оренбург, улица Комсомольская, дом 82/улица Малышевская, дом 27, Литеры АА1, Д), об утверждении предмета охраны, границ и режима использования территории объекта культурного наследия"
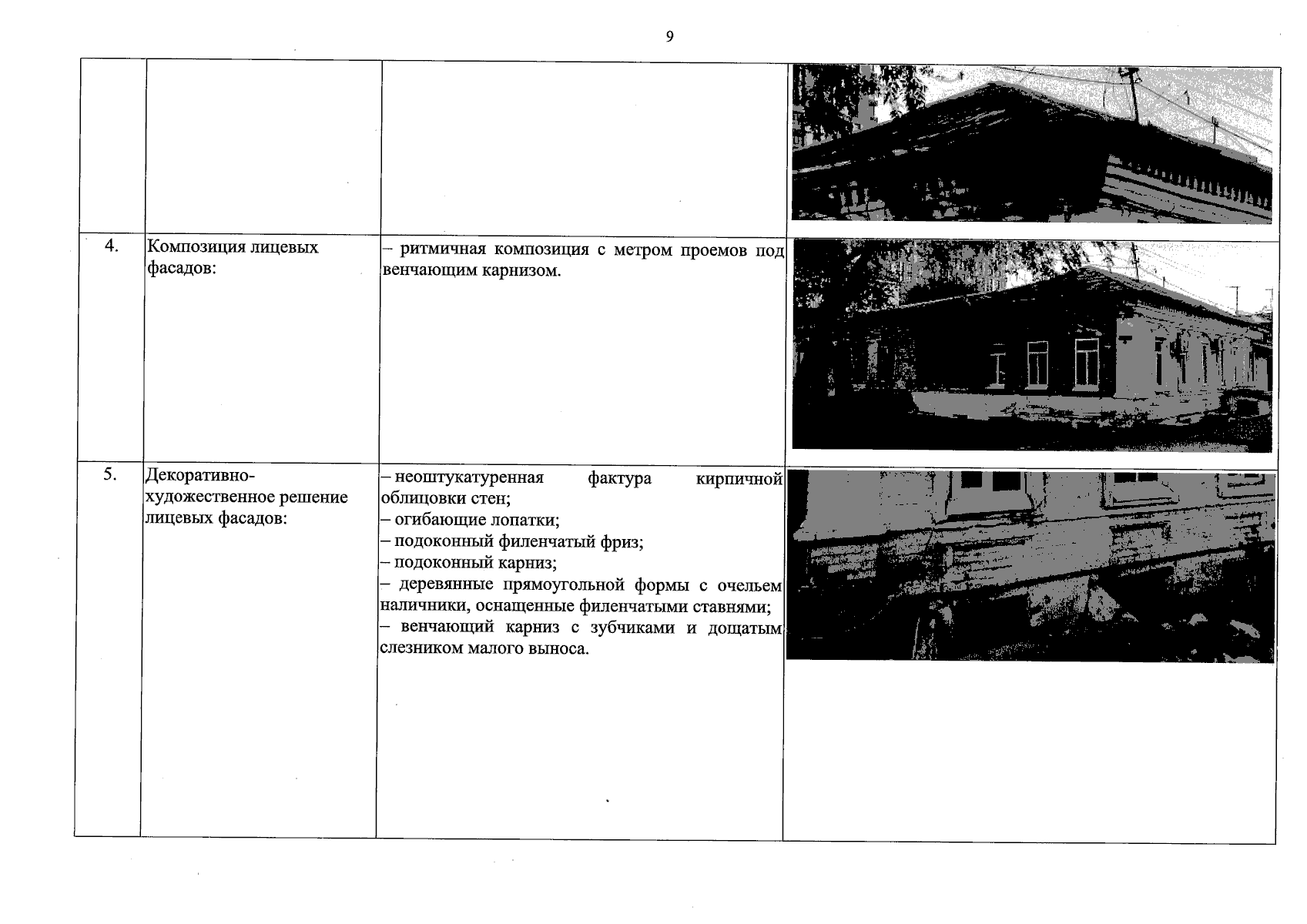
(Зарегистрирован 23.01.2026 № 0012/2026/22)
Номер опубликования: 5601202601230001
Дата опубликования: 23.01.2026
Страница №9 из 19:
Увеличить