Официальное опубликование правовых актов
ОФИЦИАЛЬНОЕ ОПУБЛИКОВАНИЕ
Приказ Департамента надзорной и контрольной деятельности Орловской области от 18.03.2021 № 583
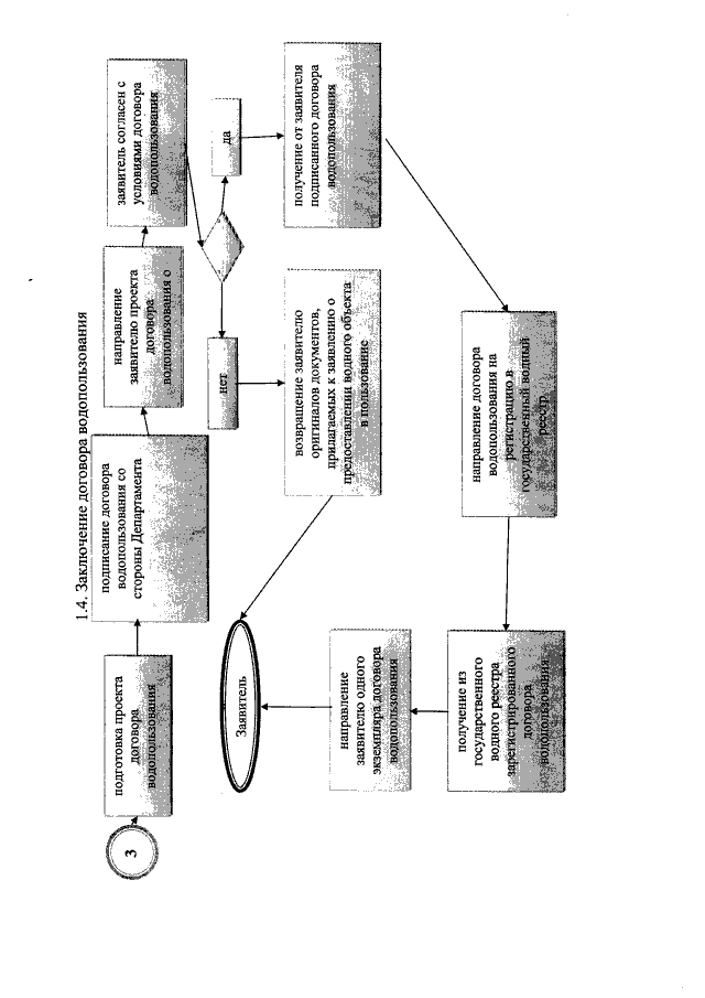
"Об утверждении Административного регламента предоставления Департаментом надзорной и контрольной деятельности Орловской области государственной услуги по предоставлению водных объектов или их частей, находящихся в собственности Орловской области, в пользование на основании договора водопользования"
(Зарегистрирован 19.03.2021 № 103/2021)
Номер опубликования: 5701202103240002
Дата опубликования: 24.03.2021
Страница №55 из 86:
Увеличить