Официальное опубликование правовых актов
ОФИЦИАЛЬНОЕ ОПУБЛИКОВАНИЕ
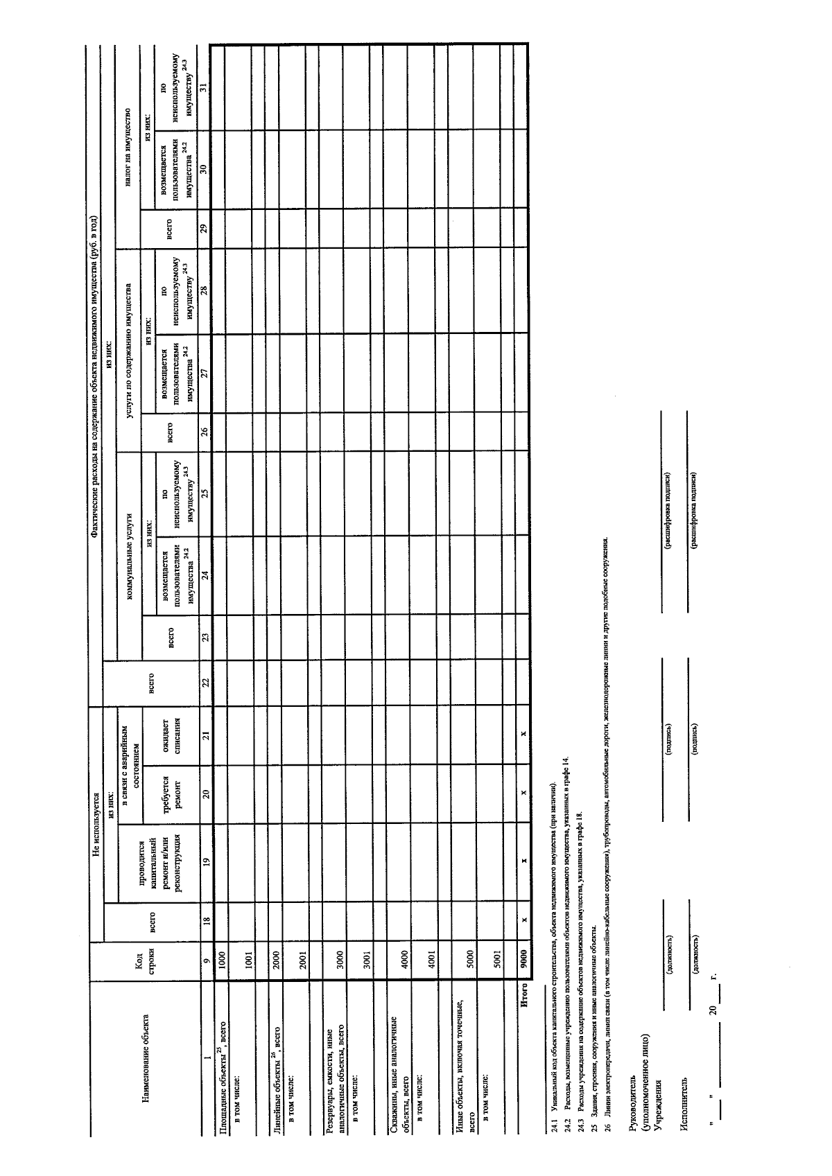
Приказ Администрации Губернатора и Правительства Орловской области от 11.02.2025 № 37
"О внесении изменений в приказ Администрации Губернатора и Правительства Орловской области от 22 декабря 2023 года № 632 "Об утверждении порядка составления и утверждения отчета о результатах деятельности государственных учреждений Орловской области, подведомственных Администрации Губернатора и Правительства Орловской области, и об использовании закрепленного за ними государственного имущества Орловской области"
(Зарегистрирован 12.02.2025 № 77/2025)
Номер опубликования: 5701202502120007
Дата опубликования: 12.02.2025
Страница №7 из 12:
Увеличить