Официальное опубликование правовых актов
ОФИЦИАЛЬНОЕ ОПУБЛИКОВАНИЕ
Приказ Управления по государственной охране объектов культурного наследия Орловской области от 10.03.2026 № 27
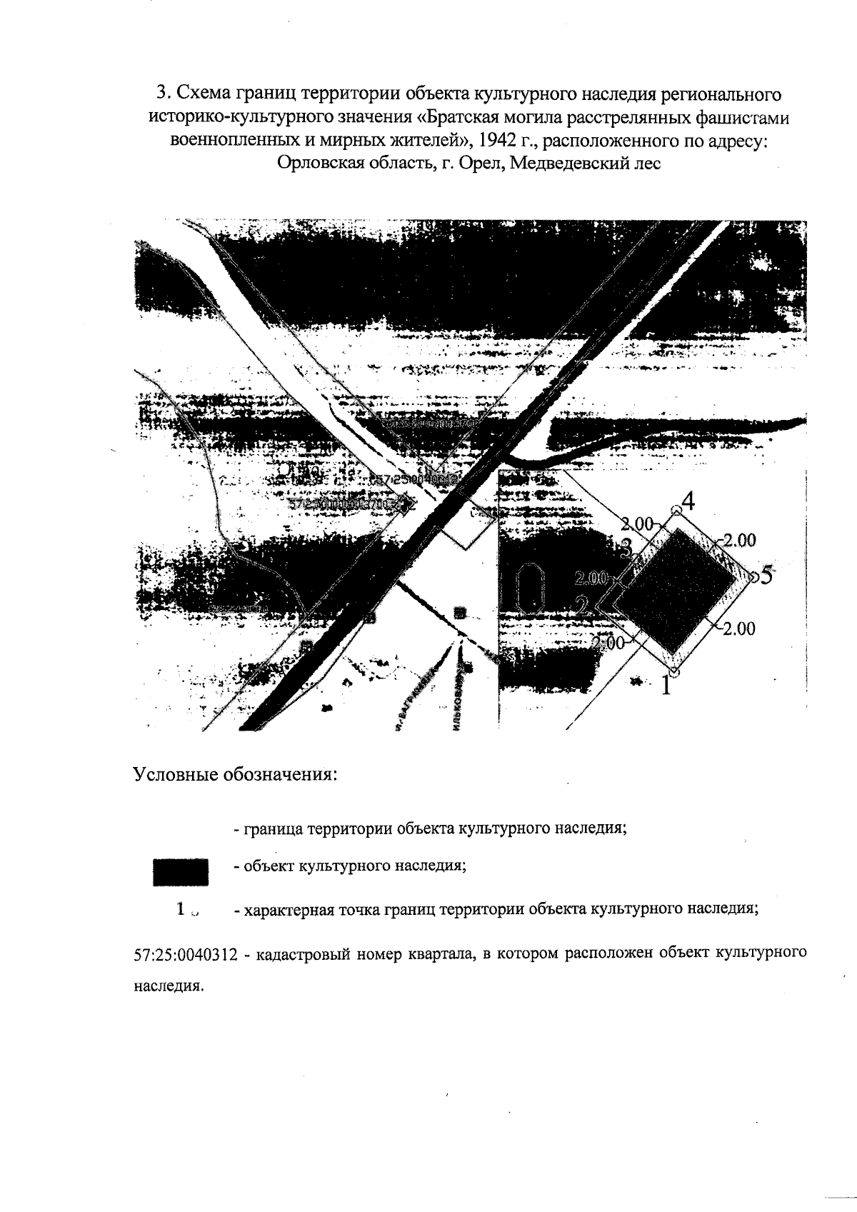
"Об утверждении границ территории и правового режима использования территории объекта культурного наследия регионального историко-культурного значения "Братская могила расстрелянных фашистами военнопленных и мирных жителей", 1942 г., расположенного по адресу: Орловская область, г. Орел, Медведевский лес"
(Зарегистрирован 11.03.2026 № 140/2026)
Номер опубликования: 5701202603160009
Дата опубликования: 16.03.2026
Страница №6 из 6:
Увеличить