Официальное опубликование правовых актов
ОФИЦИАЛЬНОЕ ОПУБЛИКОВАНИЕ
Приказ Комитета культурного наследия Саратовской области от 04.04.2023 № 01-04/141
"Об утверждении предмета охраны объекта культурного наследия регионального значения, расположенного по адресу: Саратовская область, г. Саратов, ул. им. Киселева Ю.П., 2 / ул. им. Горького А.М., 47"
(Зарегистрирован 05.04.2023 № 25-2023-1-428)
Номер опубликования: 6401202304120008
Дата опубликования: 12.04.2023
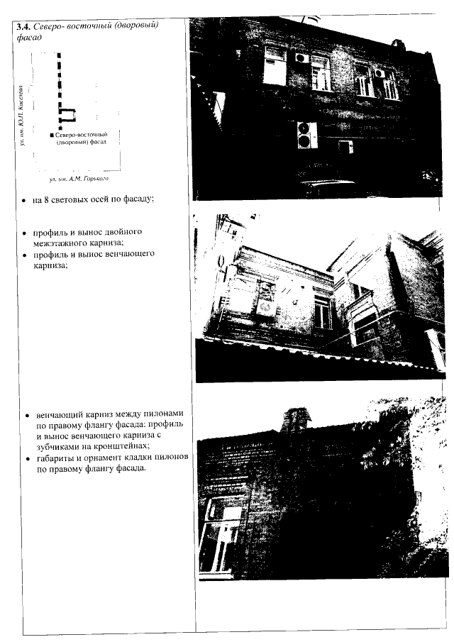
Страница №11 из 21:
Увеличить