Официальное опубликование правовых актов
ОФИЦИАЛЬНОЕ ОПУБЛИКОВАНИЕ
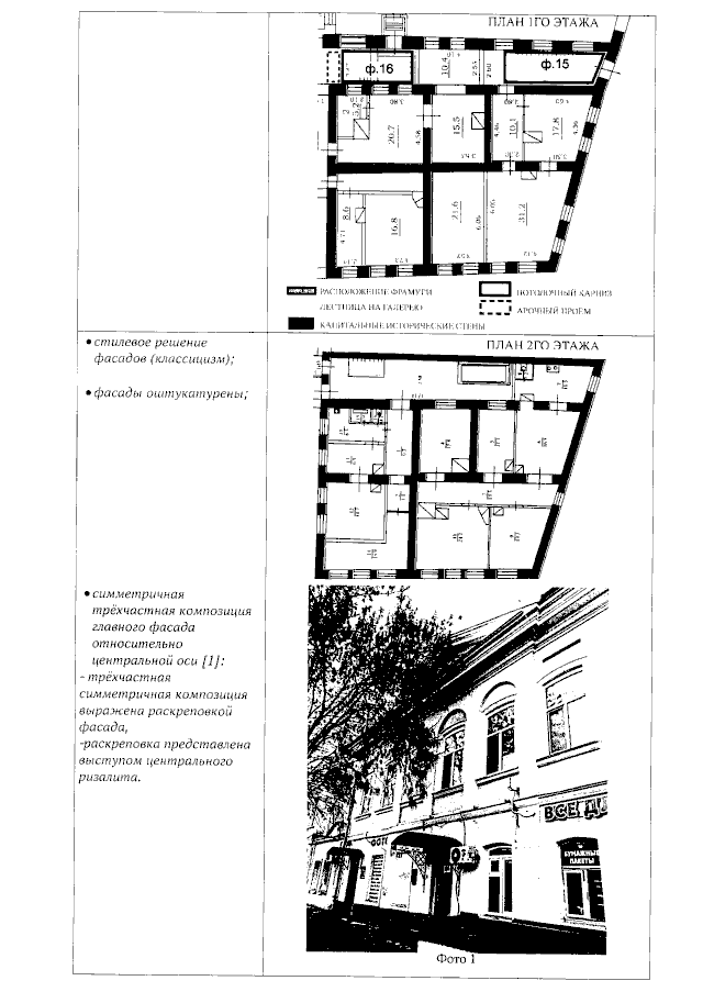
Приказ Комитета культурного наследия Саратовской области от 24.07.2023 № 01-04/283
"Об утверждении предмета охраны объекта культурного наследия регионального значения, расположенного по адресу: Саратовская область, г. Саратов, ул. Московская, 22 (ул. Мичурина, 157)"
(Зарегистрирован 28.07.2023 № 25-2023-1-1045)
Номер опубликования: 6401202308020005
Дата опубликования: 02.08.2023
Страница №3 из 9:
Увеличить