Официальное опубликование правовых актов
ОФИЦИАЛЬНОЕ ОПУБЛИКОВАНИЕ
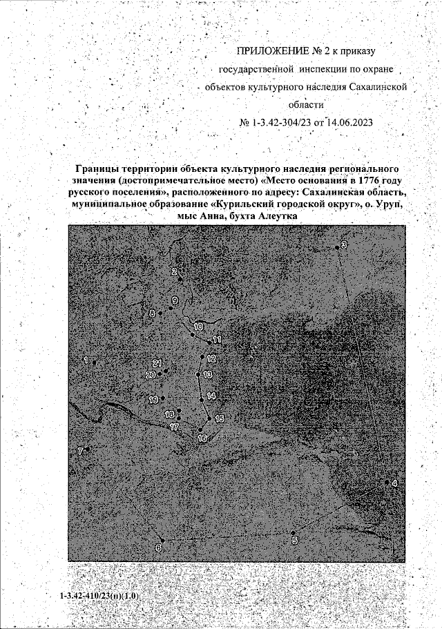
Приказ Государственной инспекции по охране объектов культурного наследия Сахалинской области от 14.06.2023 № 1-3.42-304/23
"Об утверждении предмета охраны, границ и требований к осуществляемой деятельности и градостроительным регламентам в границах объекта культурного наследия регионального значения (достопримечательное место) "Место основания в 1776 году русского поселения", расположенного по адресу: Сахалинская область, муниципальное образование "Курильский городской округ", о. Уруп, мыс Анна, бухта Алеутка"
(Зарегистрирован 14.06.2023 № 1-3.42-304/23)
Номер опубликования: 6501202306190008
Дата опубликования: 19.06.2023
Страница №5 из 11:
Увеличить