Официальное опубликование правовых актов
ОФИЦИАЛЬНОЕ ОПУБЛИКОВАНИЕ
Постановление Администрации Смоленской области от 15.10.2015 № 641
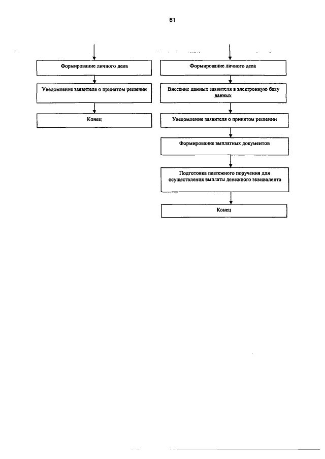
"Об утверждении Административного регламента предоставления Департаментом Смоленской области по социальному развитию государственной услуги "Предоставление мер социальной поддержки по оплате жилого помещения и коммунальных услуг реабилитированным лицам и лицам, признанным пострадавшими от политических репрессий, на территории Смоленской области"
Номер опубликования: 6700201510160005
Дата опубликования: 16.10.2015
Страница №61 из 61:
Увеличить