Официальное опубликование правовых актов
ОФИЦИАЛЬНОЕ ОПУБЛИКОВАНИЕ
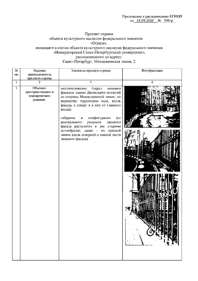
Распоряжение Комитета по государственному контролю, использованию и охране памятников истории и культуры Санкт-Петербурга от 24.09.2020 № 300-р
"Об утверждении предмета охраны объекта культурного наследия федерального значения "Ограда", входящего в состав объекта культурного наследия федерального значения "Императорский Санкт-Петербургский университет"
Номер опубликования: 7801202009280005
Дата опубликования: 28.09.2020
Страница №2 из 5:
Увеличить