Официальное опубликование правовых актов
ОФИЦИАЛЬНОЕ ОПУБЛИКОВАНИЕ
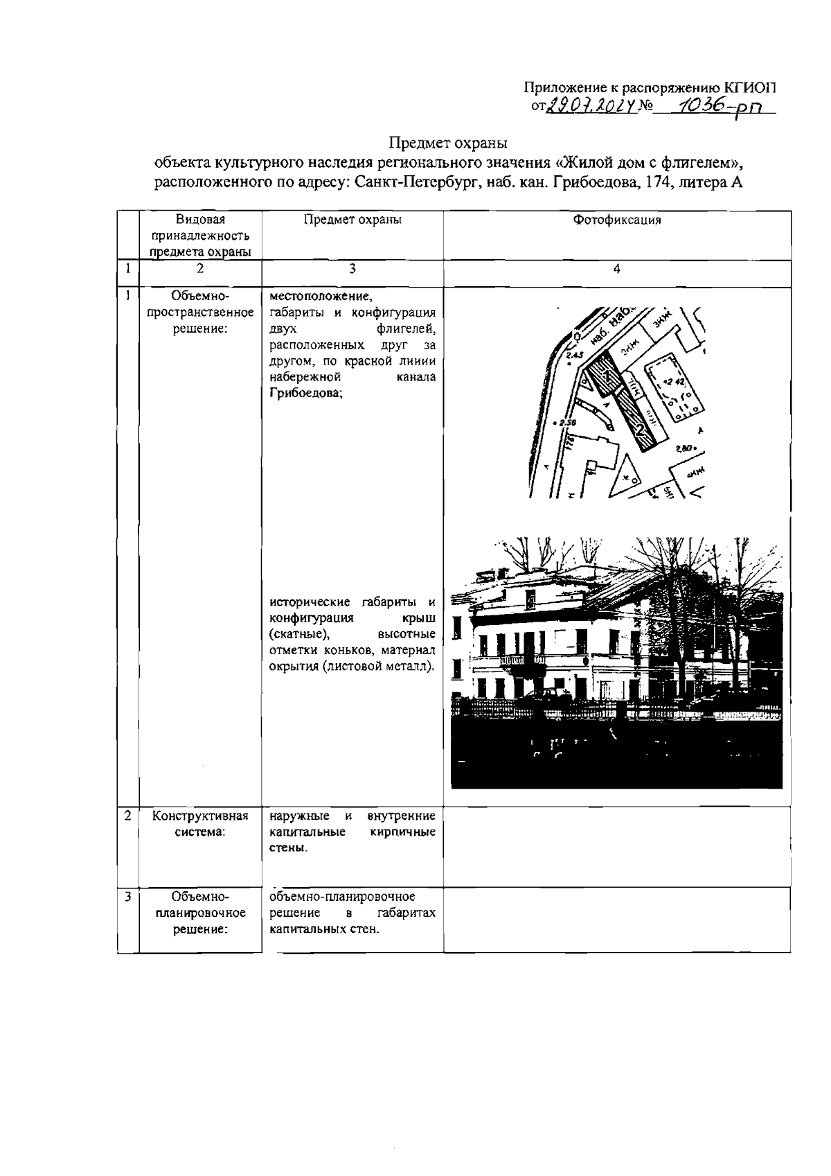
Распоряжение Комитета по государственному контролю, использованию и охране памятников истории и культуры от 29.07.2024 № 1036-рп
"Об утверждении предмета охраны объекта культурного наследия регионального значения "Жилой дом с флигелем"
(Зарегистрирован 30.07.2024 № 48572)
Номер опубликования: 7801202408010010
Дата опубликования: 01.08.2024
Страница №2 из 5:
Увеличить