Официальное опубликование правовых актов
ОФИЦИАЛЬНОЕ ОПУБЛИКОВАНИЕ
Распоряжение Комитета по государственному контролю, использованию и охране памятников истории и культуры от 18.10.2024 № 1291-рп
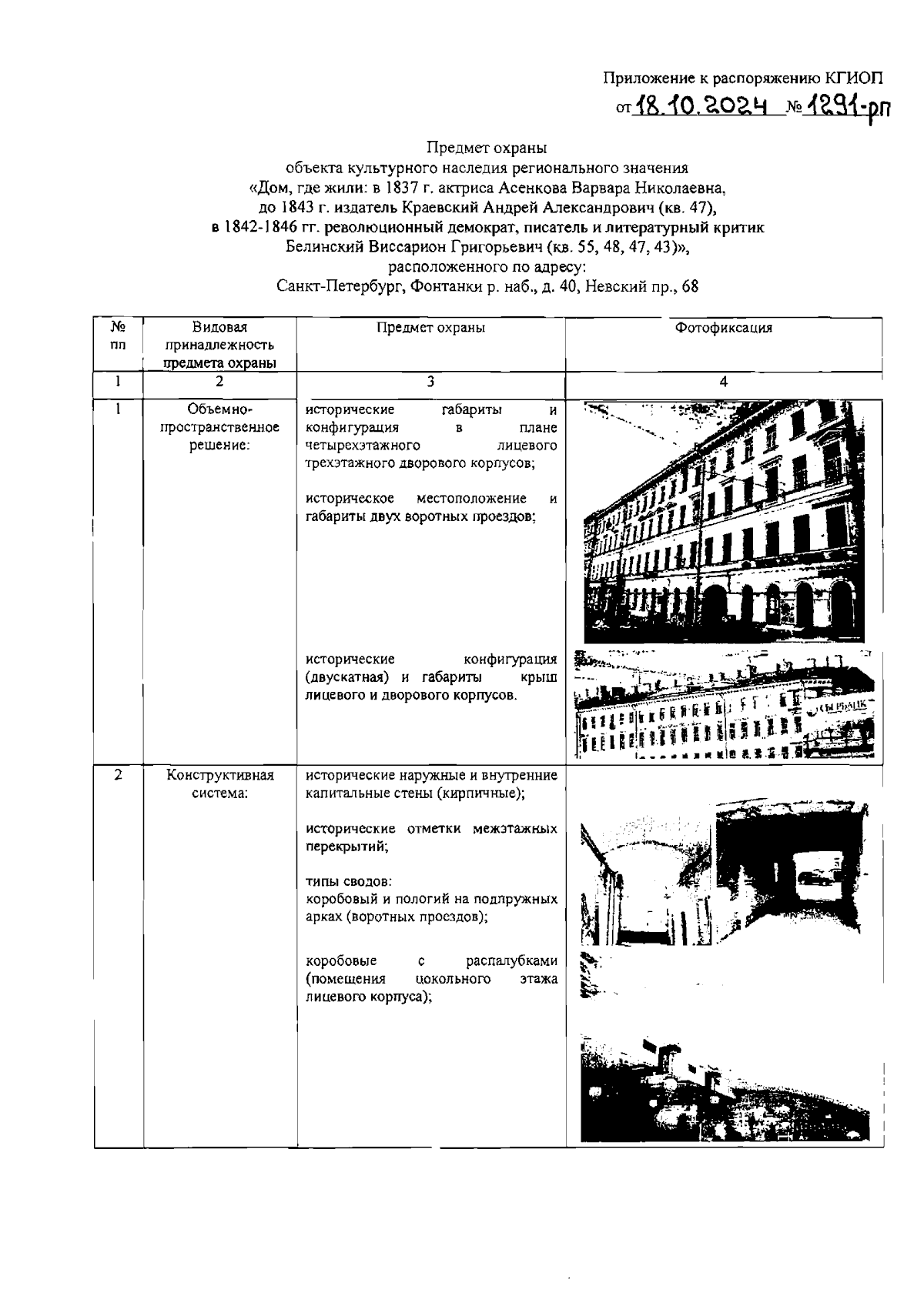
"Об утверждении предмета охраны объекта культурного наследия регионального значения "Дом, где жили: в 1837 г. актриса Асенкова Варвара Николаевна, до 1843 г. издатель Краевский Андрей Александрович (кв. 47), в 1842-1846 гг. революционный демократ, писатель и литературный критик Белинский Виссарион Григорьевич (кв. 55, 48, 47, 43)"
(Зарегистрирован 21.10.2024 № 49125)
Номер опубликования: 7801202410210007
Дата опубликования: 21.10.2024
Страница №3 из 10:
Увеличить