Официальное опубликование правовых актов
ОФИЦИАЛЬНОЕ ОПУБЛИКОВАНИЕ
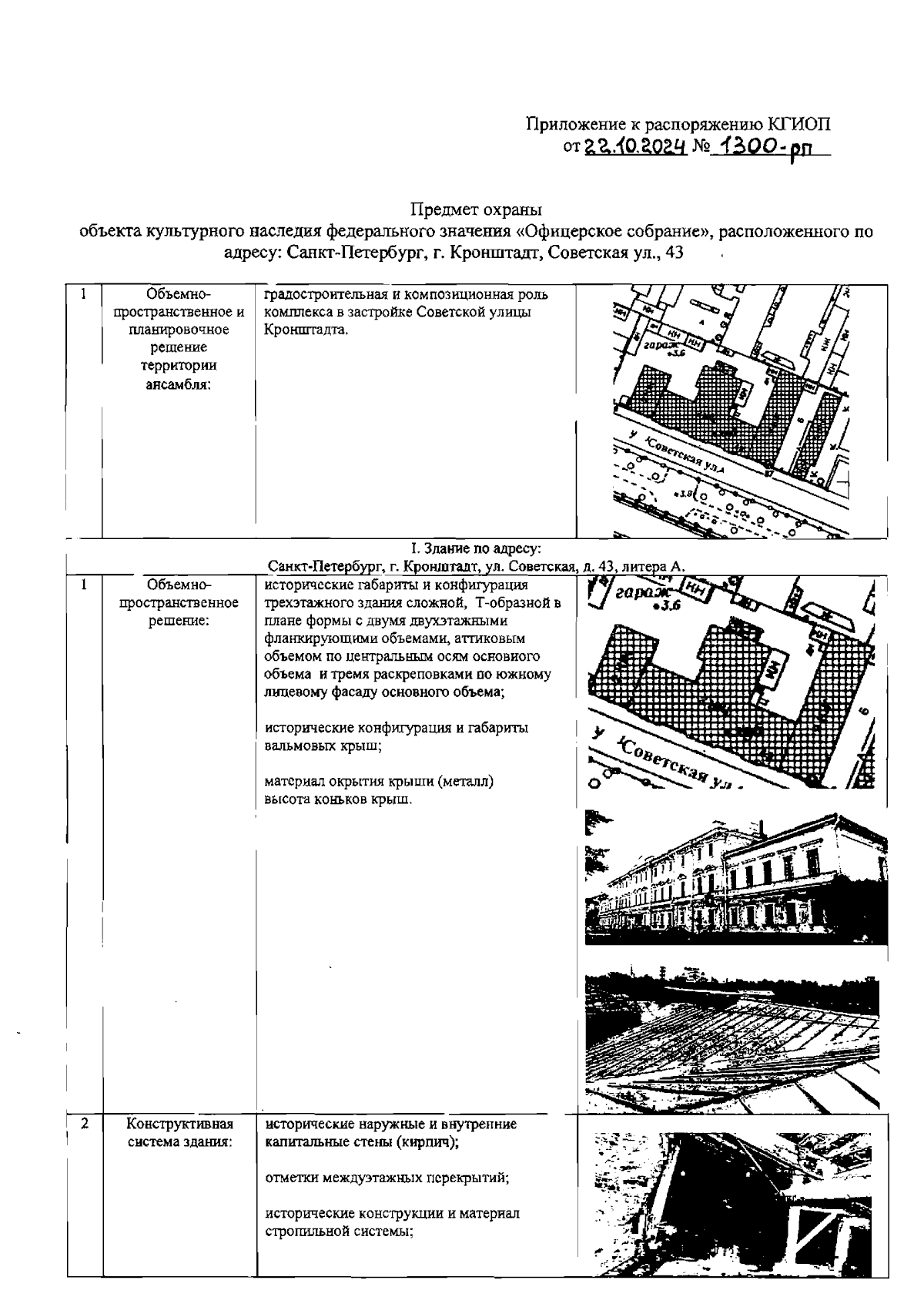
Распоряжение Комитета по государственному контролю, использованию и охране памятников истории и культуры от 22.10.2024 № 1300-рп
"Об утверждении предмета охраны объекта культурного наследия федерального значения "Офицерское собрание"
(Зарегистрирован 22.10.2024 № 49142)
Номер опубликования: 7801202410230006
Дата опубликования: 23.10.2024
Страница №2 из 19:
Увеличить