Распоряжение Комитета по государственному контролю, использованию и охране памятников истории и культуры от 28.10.2024 № 1325-рп
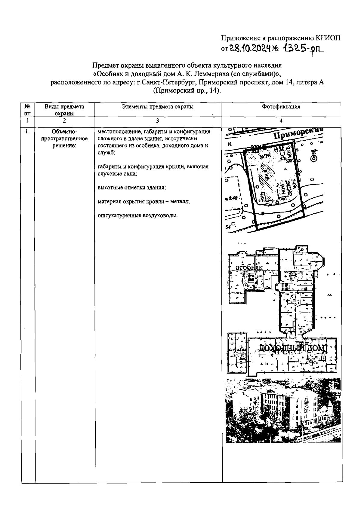
"Об утверждении предмета охраны выявленного объекта культурного наследия "Особняк и доходный дом А. К. Леммериха (со службами)"
(Зарегистрирован 30.10.2024 № 49199)
"Об утверждении предмета охраны выявленного объекта культурного наследия "Особняк и доходный дом А. К. Леммериха (со службами)"
(Зарегистрирован 30.10.2024 № 49199)
Номер опубликования: 7801202411010001
Дата опубликования:
01.11.2024
