Официальное опубликование правовых актов
ОФИЦИАЛЬНОЕ ОПУБЛИКОВАНИЕ
Распоряжение Комитета по государственному контролю, использованию и охране памятников истории и культуры от 28.11.2024 № 1468-рп
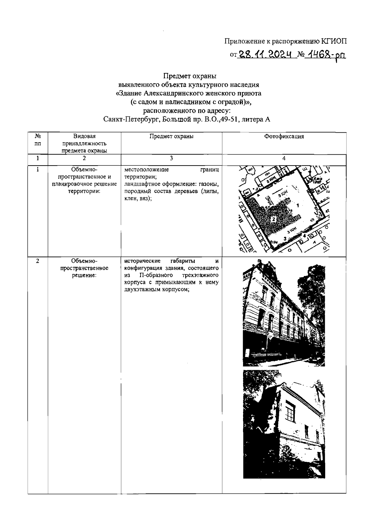
"Об утверждении предмета охраны выявленного объекта культурного наследия "Здание Александринского женского приюта (с садом и палисадником с оградой)"
(Зарегистрирован 02.12.2024 № 49447)
Номер опубликования: 7801202412040048
Дата опубликования: 04.12.2024
Страница №2 из 15:
Увеличить