Официальное опубликование правовых актов
ОФИЦИАЛЬНОЕ ОПУБЛИКОВАНИЕ
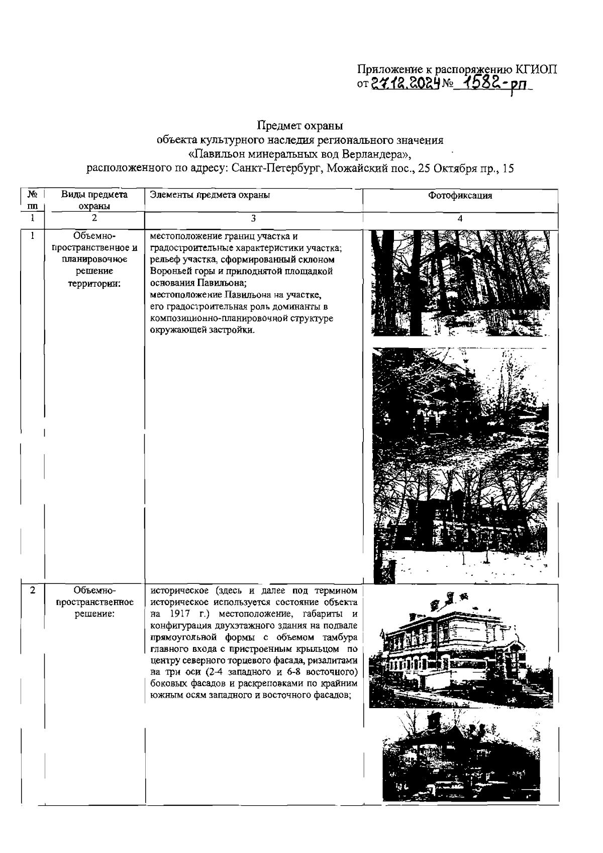
Распоряжение Комитета по государственному контролю, использованию и охране памятников истории и культуры от 27.12.2024 № 1582-рп
"Об утверждении предмета охраны объекта культурного наследия регионального значения "Павильон минеральных вод Верландера"
(Зарегистрирован 28.12.2024 № 49807)
Номер опубликования: 7801202412300003
Дата опубликования: 30.12.2024
Страница №2 из 11:
Увеличить