Официальное опубликование правовых актов
ОФИЦИАЛЬНОЕ ОПУБЛИКОВАНИЕ
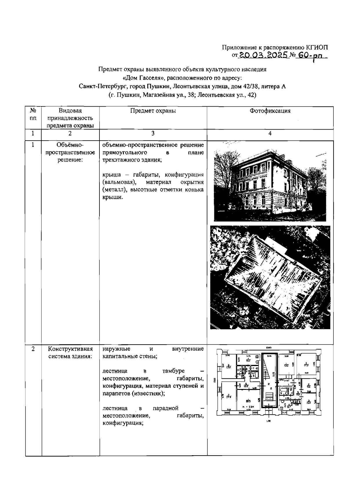
Распоряжение Комитета по государственному контролю, использованию и охране памятников истории и культуры от 20.03.2025 № 60-рп
"Об утверждении предмета охраны выявленного объекта культурного наследия "Дом Гасселя"
(Зарегистрирован 24.03.2025 № 50116)
Номер опубликования: 7801202503260009
Дата опубликования: 26.03.2025
Страница №2 из 6:
Увеличить