Официальное опубликование правовых актов
ОФИЦИАЛЬНОЕ ОПУБЛИКОВАНИЕ
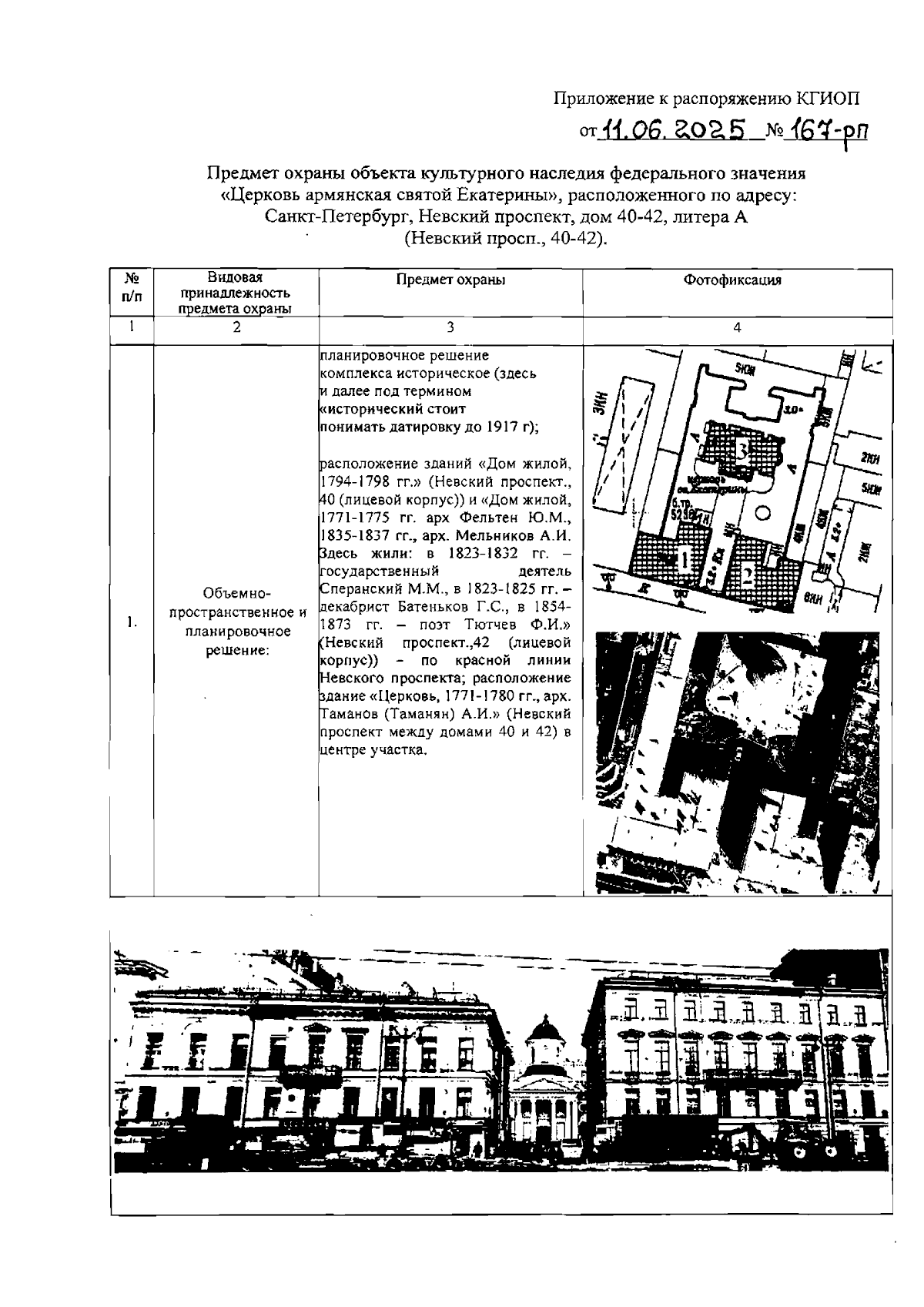
Распоряжение Комитета по государственному контролю, использованию и охране памятников истории и культуры от 11.06.2025 № 167-рп
"Об утверждении предмета охраны объекта культурного наследия федерального значения "Церковь армянская святой Екатерины"
(Зарегистрирован 16.06.2025 № 50511)
Номер опубликования: 7801202506180004
Дата опубликования: 18.06.2025
Страница №2 из 60:
Увеличить