Официальное опубликование правовых актов
ОФИЦИАЛЬНОЕ ОПУБЛИКОВАНИЕ
Распоряжение Комитета по государственному контролю, использованию и охране памятников истории и культуры от 18.08.2025 № 234-рп
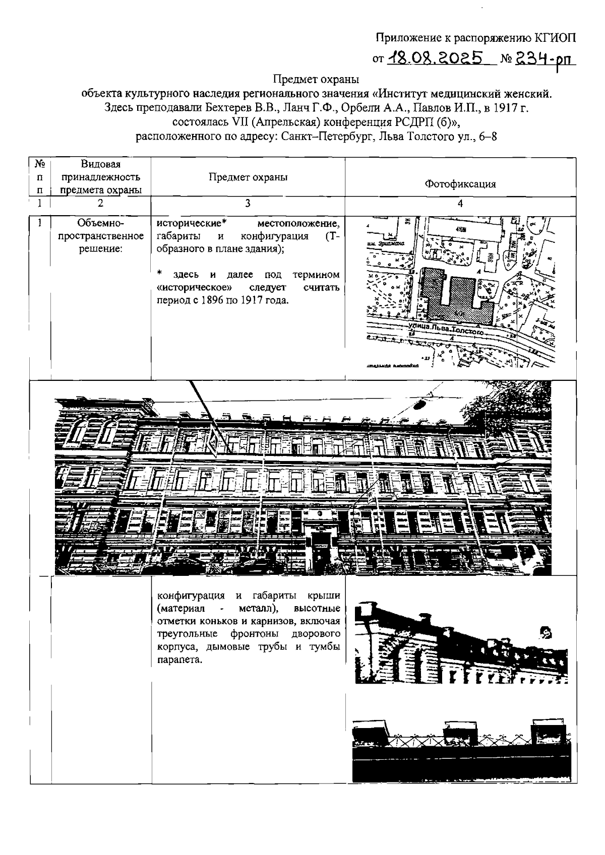
"Об утверждении предмета охраны объекта культурного наследия регионального значения "Институт медицинский женский. Здесь преподавали Бехтерев В.В., Ланч Г.Ф., Орбели А.А., Павлов И.П., в 1917 г. состоялась VII (Апрельская) конференция РСДРП (б)"
(Зарегистрирован 18.08.2025 № 50812)
Номер опубликования: 7801202508250005
Дата опубликования: 25.08.2025
Страница №2 из 19:
Увеличить