Официальное опубликование правовых актов
ОФИЦИАЛЬНОЕ ОПУБЛИКОВАНИЕ
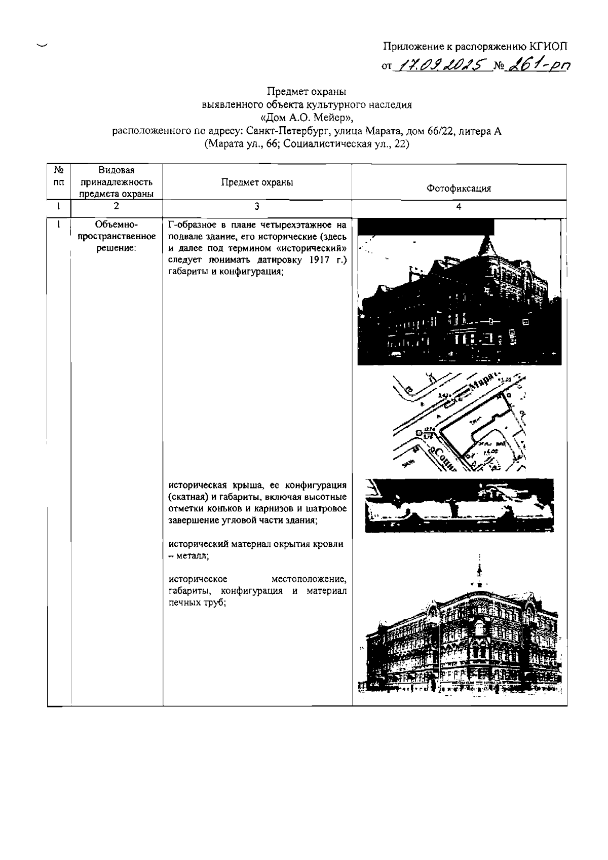
Распоряжение Комитета по государственному контролю, использованию и охране памятников истории и культуры от 17.09.2025 № 261-рп
"Об утверждении предмета охраны выявленного объекта культурного наследия "Дом А.О. Мейер"
(Зарегистрирован 17.09.2025 № 50944)
Номер опубликования: 7801202509180006
Дата опубликования: 18.09.2025
Страница №2 из 16:
Увеличить