Официальное опубликование правовых актов
ОФИЦИАЛЬНОЕ ОПУБЛИКОВАНИЕ
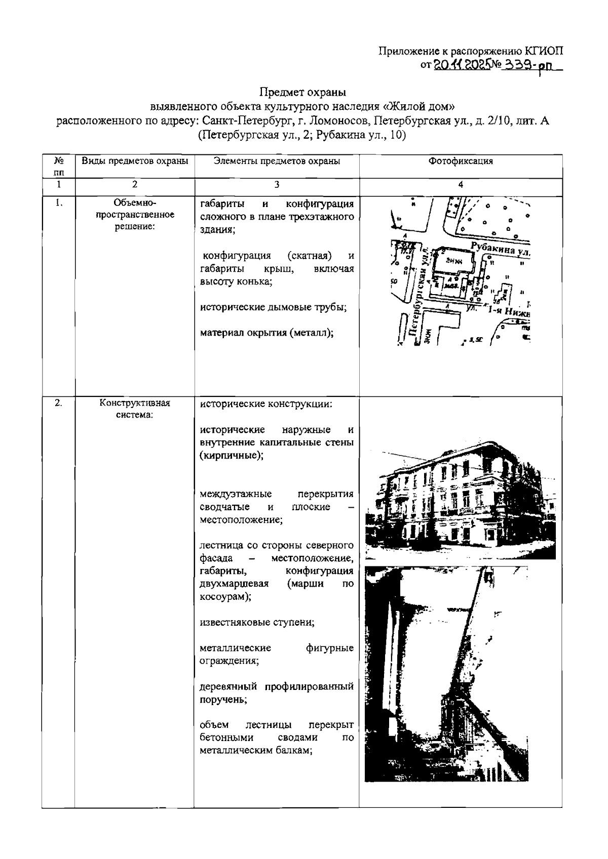
Распоряжение Комитета по государственному контролю, использованию и охране памятников истории и культуры от 20.11.2025 № 339-рп
"Об утверждении предмета охраны выявленного объекта культурного наследия "Жилой дом"
(Зарегистрирован 21.11.2025 № 51275)
Номер опубликования: 7801202511210005
Дата опубликования: 21.11.2025
Страница №2 из 5:
Увеличить