Официальное опубликование правовых актов
ОФИЦИАЛЬНОЕ ОПУБЛИКОВАНИЕ
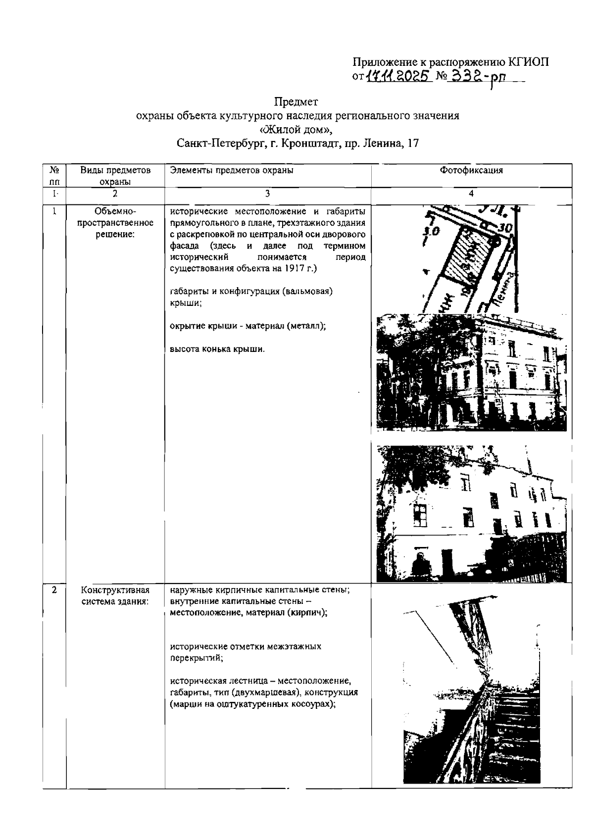
Распоряжение Комитета по государственному контролю, использованию и охране памятников истории и культуры от 17.11.2025 № 332-рп
"Об утверждении предмета охраны объекта культурного наследия регионального значения "Жилой дом"
(Зарегистрирован 18.11.2025 № 51263)
Номер опубликования: 7801202511250003
Дата опубликования: 25.11.2025
Страница №2 из 5:
Увеличить