Официальное опубликование правовых актов
ОФИЦИАЛЬНОЕ ОПУБЛИКОВАНИЕ
Распоряжение Комитета по государственному контролю, использованию и охране памятников истории и культуры от 17.12.2025 № 384-рп
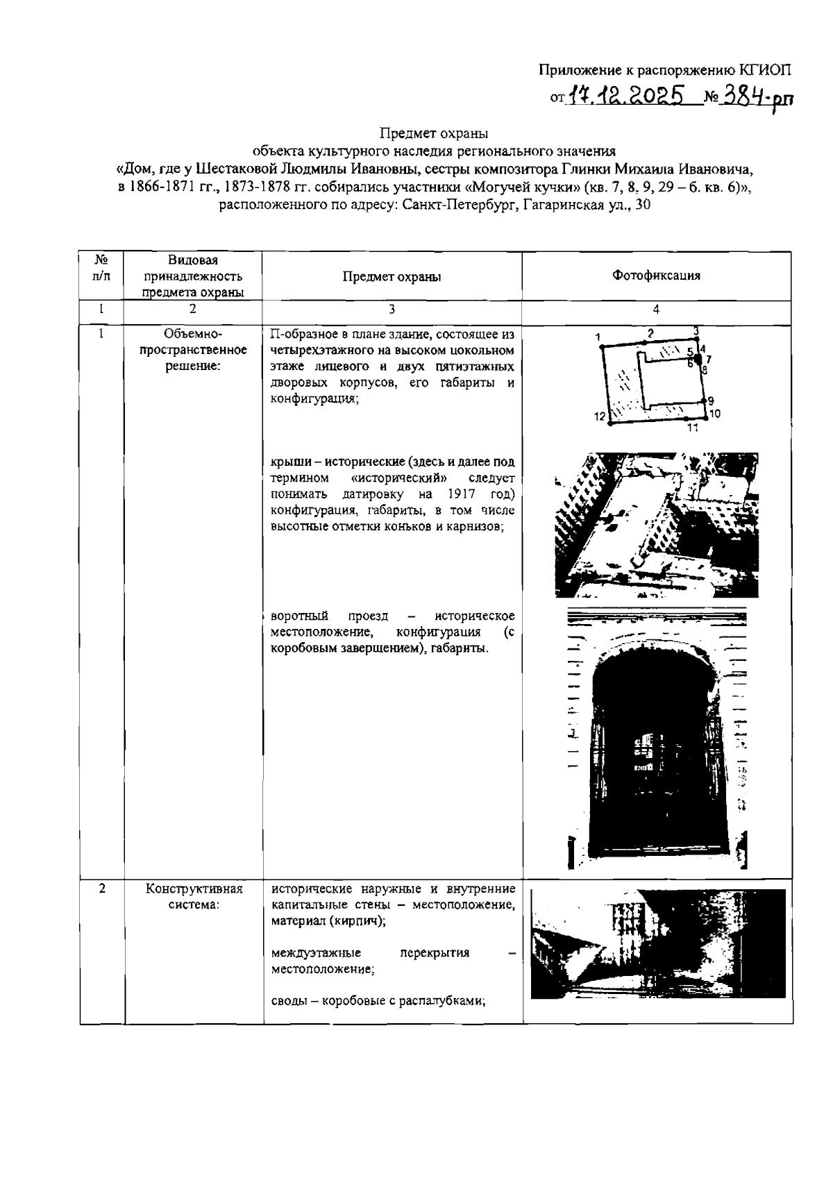
"Об утверждении предмета охраны объекта культурного наследия регионального значения "Дом, где у Шестаковой Людмилы Ивановны, сестры композитора Глинки Михаила Ивановича, в 1866-1871 гг., 1873-1878 гг. собирались участники "Могучей кучки" (кв. 7, 8, 9, 29 - б. кв. 6)"
(Зарегистрирован 17.12.2025 № 51462)
Номер опубликования: 7801202512190003
Дата опубликования: 19.12.2025
Страница №2 из 6:
Увеличить