Официальное опубликование правовых актов
ОФИЦИАЛЬНОЕ ОПУБЛИКОВАНИЕ
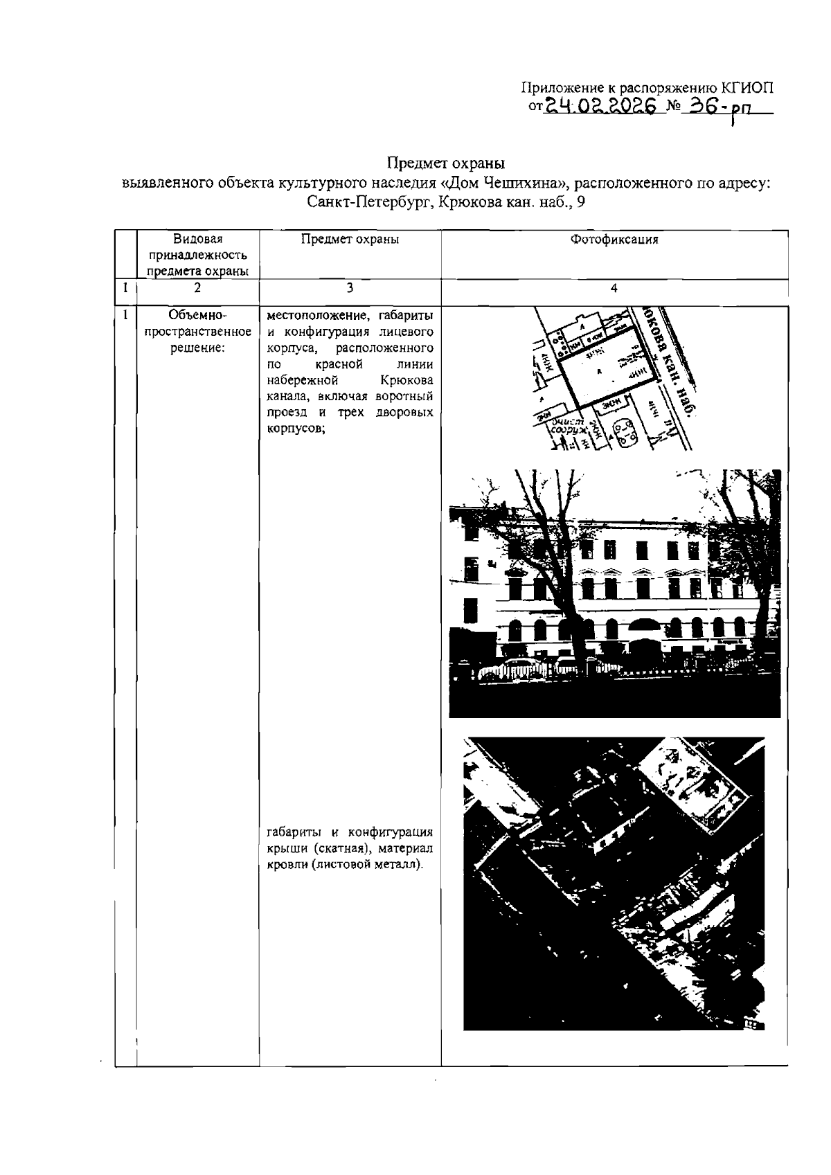
Распоряжение Комитета по государственному контролю, использованию и охране памятников истории и культуры от 24.02.2026 № 36-рп
"Об утверждении предмета охраны выявленного объекта культурного наследия "Дом Чешихина"
(Зарегистрирован 25.02.2026 № 51915)
Номер опубликования: 7801202603020013
Дата опубликования: 02.03.2026
Страница №2 из 4:
Увеличить