Официальное опубликование правовых актов
ОФИЦИАЛЬНОЕ ОПУБЛИКОВАНИЕ
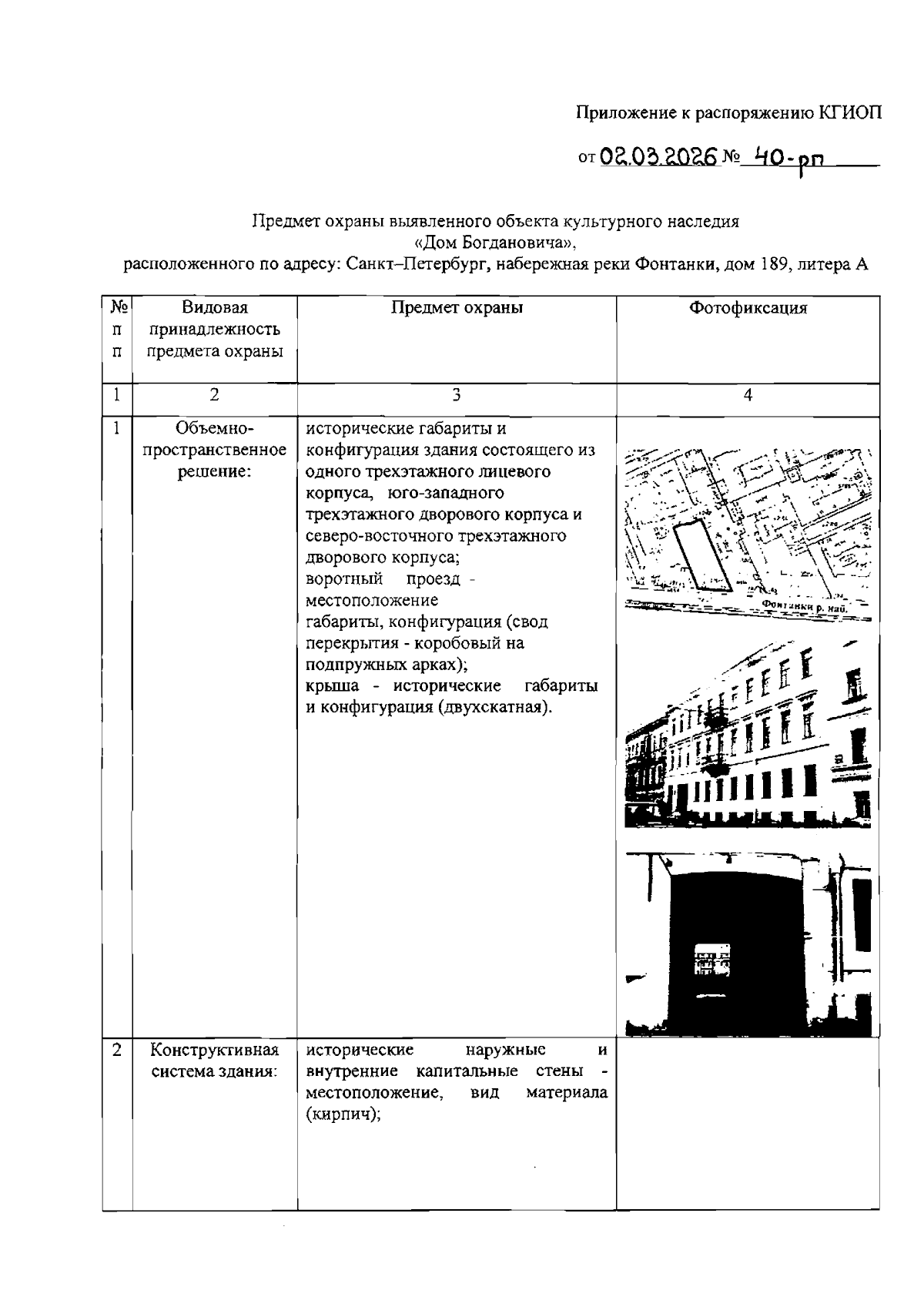
Распоряжение Комитета по государственному контролю, использованию и охране памятников истории и культуры от 02.03.2026 № 40-рп
"Об утверждении предмета охраны выявленного объекта культурного наследия "Дом Богдановича"
(Зарегистрирован 02.03.2026 № 52951)
Номер опубликования: 7801202603060010
Дата опубликования: 06.03.2026
Страница №2 из 5:
Увеличить