Официальное опубликование правовых актов
ОФИЦИАЛЬНОЕ ОПУБЛИКОВАНИЕ
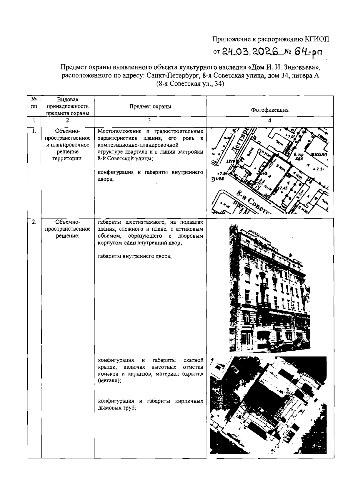
Распоряжение Комитета по государственному контролю, использованию и охране памятников истории и культуры от 24.03.2026 № 64-рп
"Об утверждении предмета охраны выявленного объекта культурного наследия "Дом И. И. Зиновьева"
(Зарегистрирован 25.03.2026 № 53055)
Номер опубликования: 7801202603260002
Дата опубликования: 26.03.2026
Страница №2 из 12:
Увеличить