Официальное опубликование правовых актов
ОФИЦИАЛЬНОЕ ОПУБЛИКОВАНИЕ
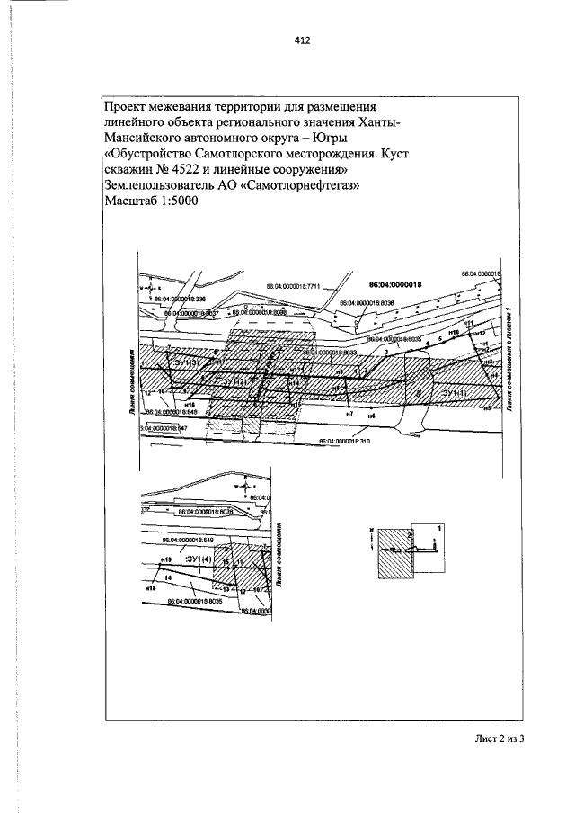
Постановление Правительства Ханты-Мансийского автономного округа - Югры от 07.10.2016 № 380-п
"Об утверждении документации по планировке территории для размещения линейных объектов регионального значения Ханты-Мансийского автономного округа – Югры"
Номер опубликования: 8600201610140002
Дата опубликования: 14.10.2016
Страница №412 из 843:
Увеличить