Официальное опубликование правовых актов
ОФИЦИАЛЬНОЕ ОПУБЛИКОВАНИЕ
Приказ Департамента имущественных отношений Ямало-Ненецкого автономного округа от 11.11.2025 № 452
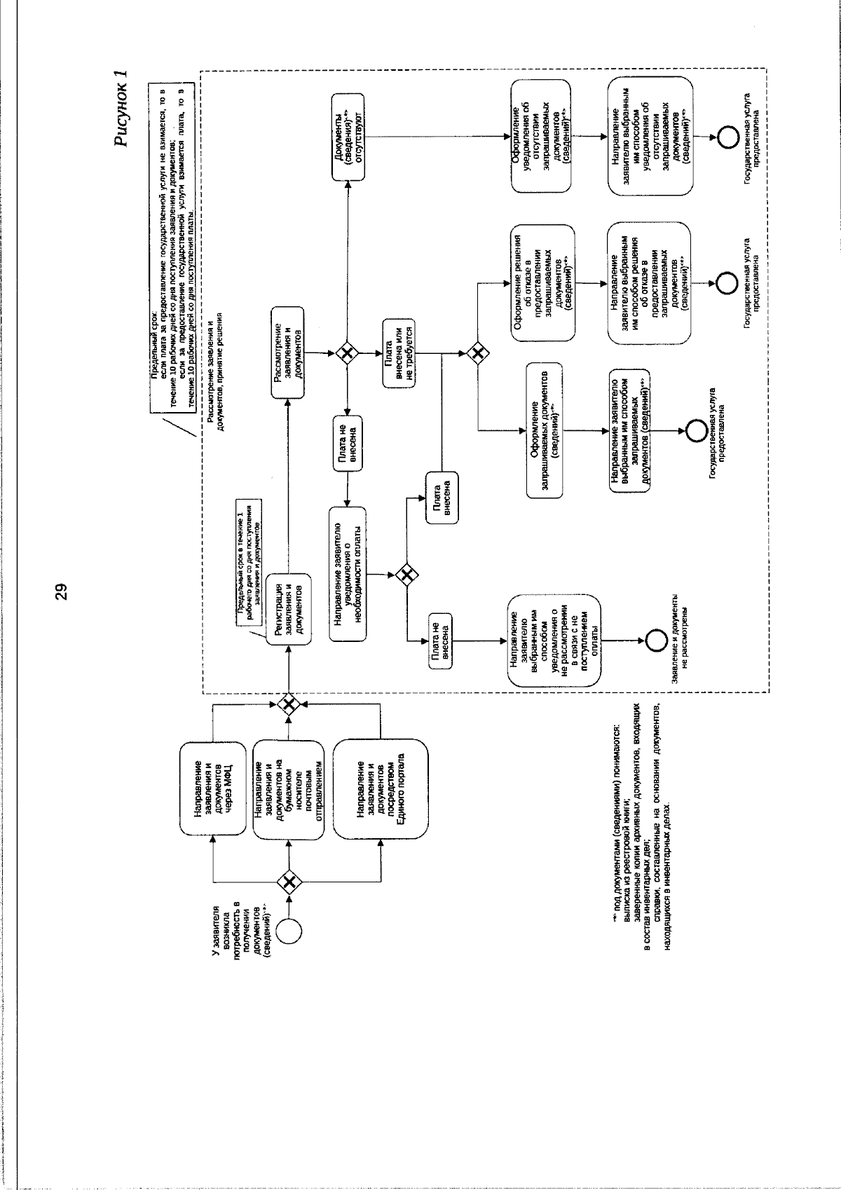
"О внесении изменения в Административный регламент государственного бюджетного учреждения Ямало-Ненецкого автономного округа "Государственная кадастровая оценка" по предоставлению государственной услуги "Предоставление копий технических паспортов, оценочной и иной хранившейся по состоянию на 01 января 2013 года в органах и организациях по государственному техническому учету и (или) технической инвентаризации учетно-технической документации об объектах государственного технического учета и технической инвентаризации (регистрационные книги, реестры, копии правоустанавливающих документов и тому подобное) и содержащихся в них сведений"
(Зарегистрирован 13.11.2025 № 375)
Номер опубликования: 8901202511140002
Дата опубликования: 14.11.2025
Страница №31 из 33:
Увеличить