Официальное опубликование правовых актов
ОФИЦИАЛЬНОЕ ОПУБЛИКОВАНИЕ
Приказ Департамента по физической культуре и спорту Ямало-Ненецкого автономного округа от 28.11.2025 № 373-ОД
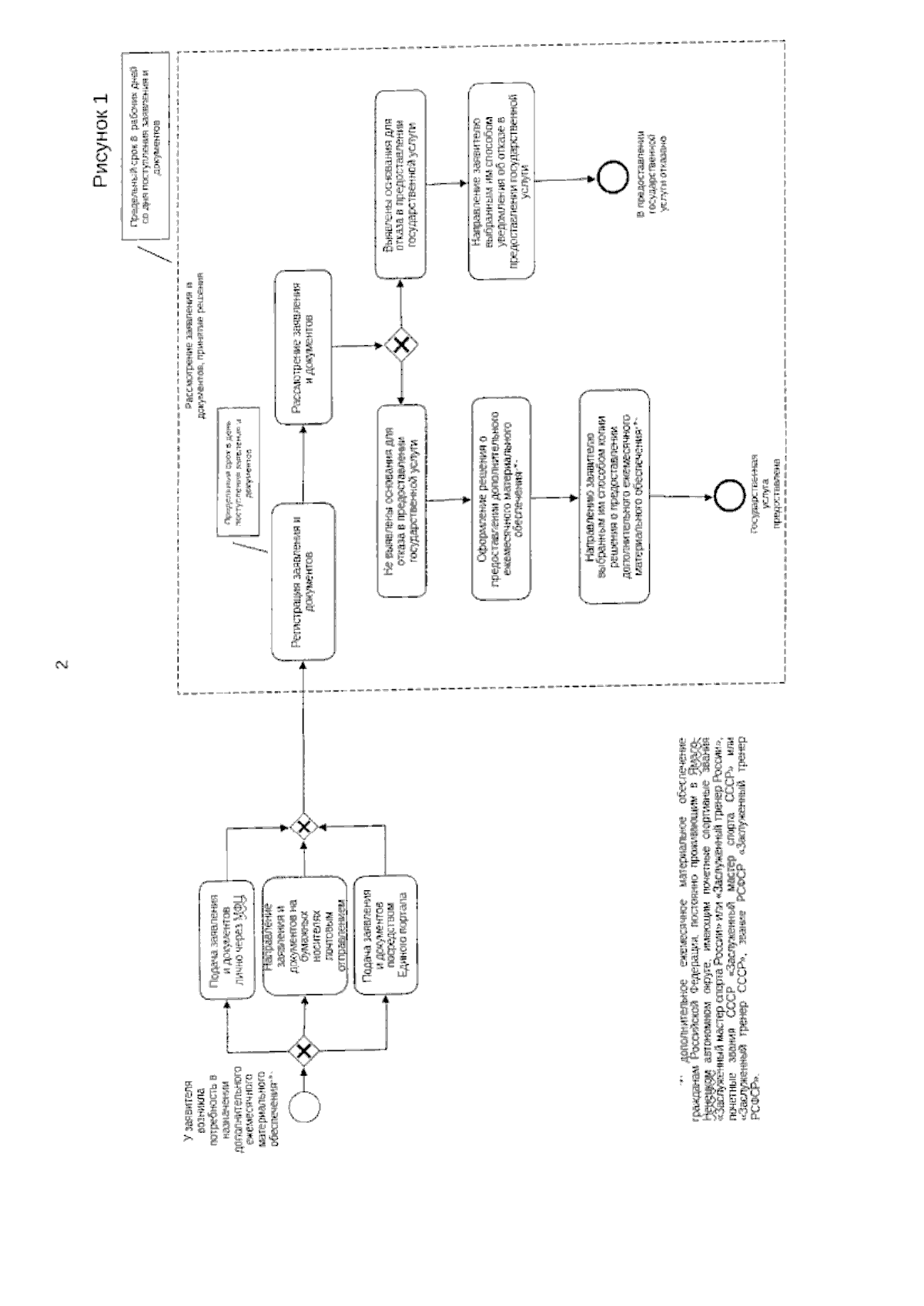
"О внесении изменения в Административный регламент департамента по физической культуре и спорту Ямало-Ненецкого автономного округа по предоставлению государственной услуги "Предоставление дополнительного ежемесячного материального обеспечения гражданам Российской Федерации, постоянно проживающим в Ямало-Ненецком автономном округе, имеющим почетные спортивные звания "Заслуженный мастер спорта России" или "Заслуженный тренер России", почетные звания СССР "Заслуженный мастер спорта СССР" или "Заслуженный тренер СССР", звание РСФСР "Заслуженный тренер РСФСР"
(Зарегистрирован 01.12.2025 № 406)
Номер опубликования: 8901202512020007
Дата опубликования: 02.12.2025
Страница №19 из 21:
Увеличить